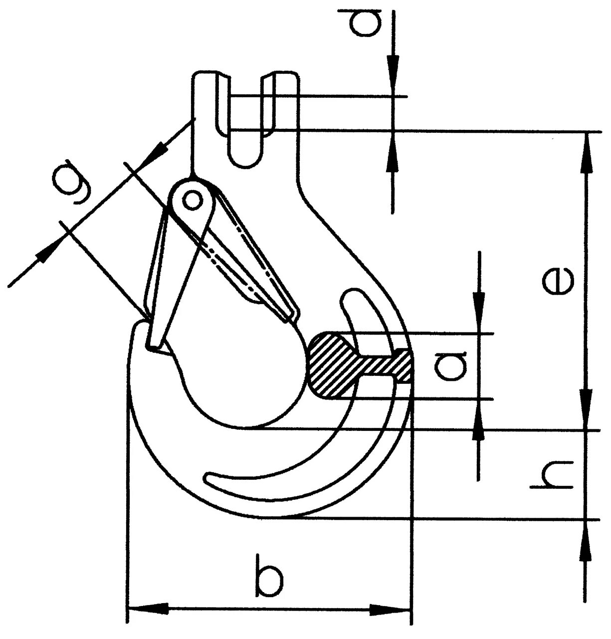
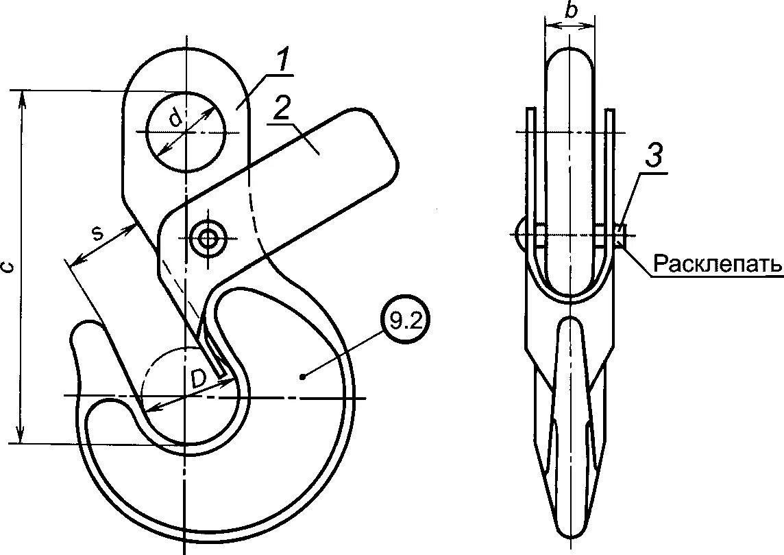
Как работает крюк