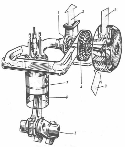
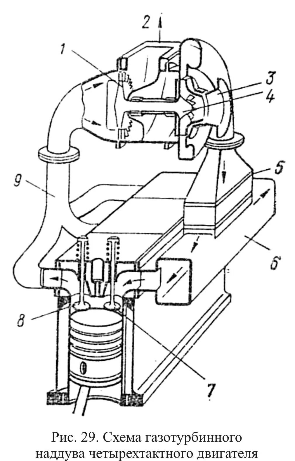
Как работает наддув