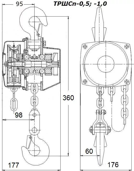
Как работает таль