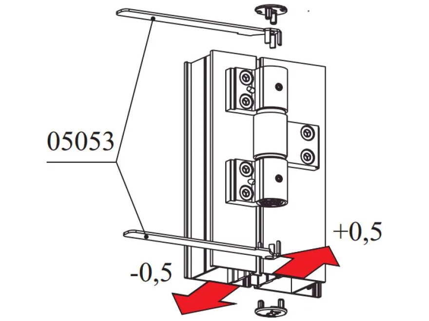
Как регулировать дверь