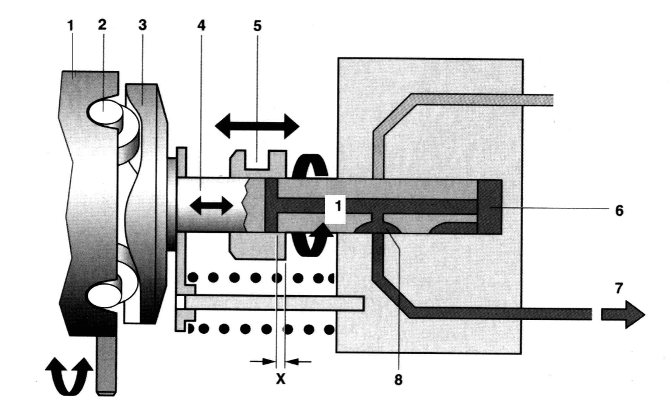
Как регулировать подачу