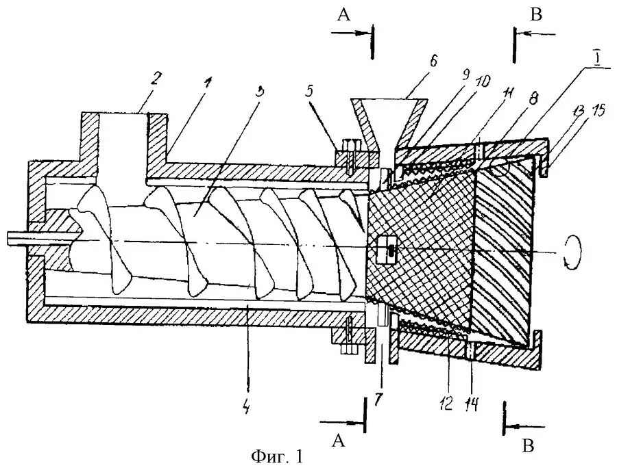
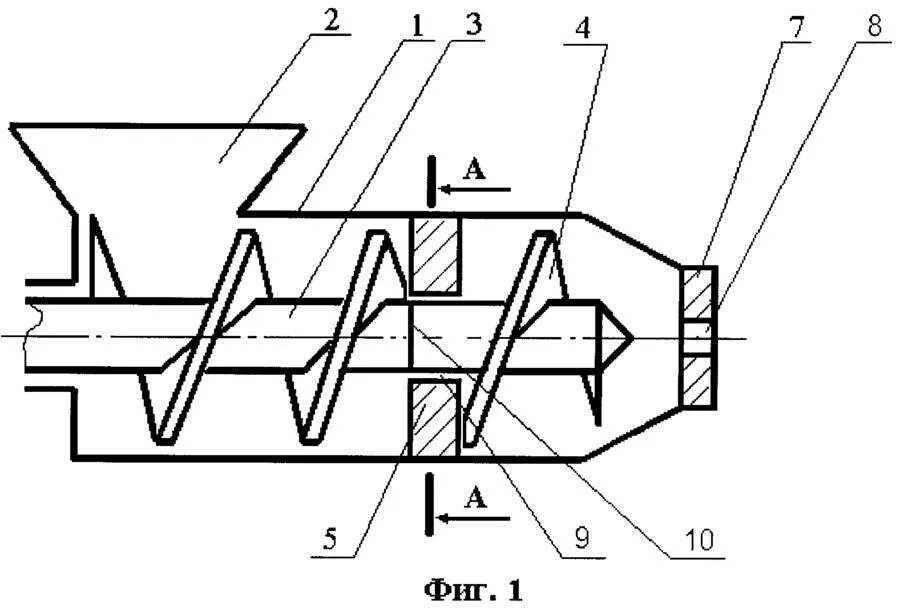
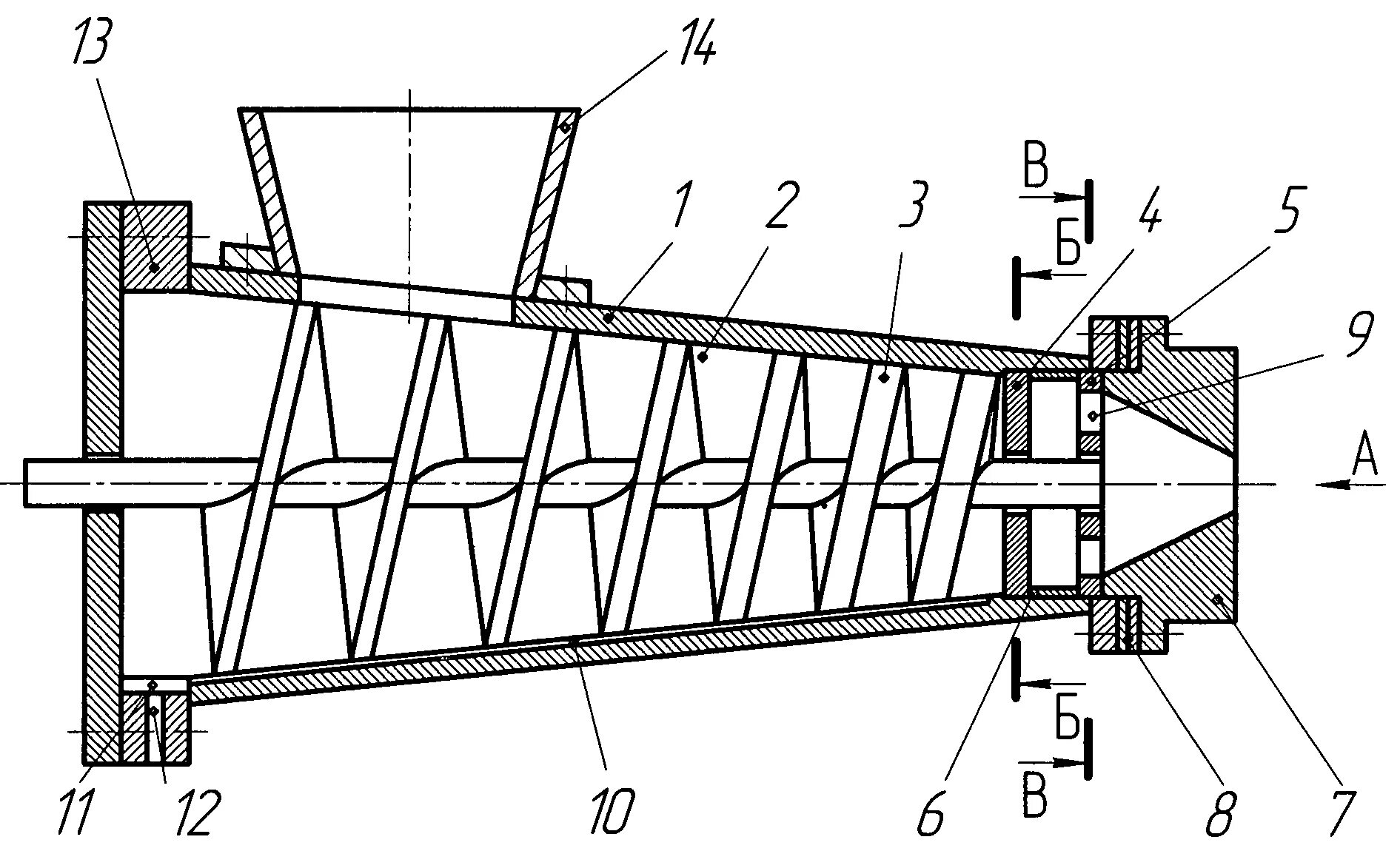
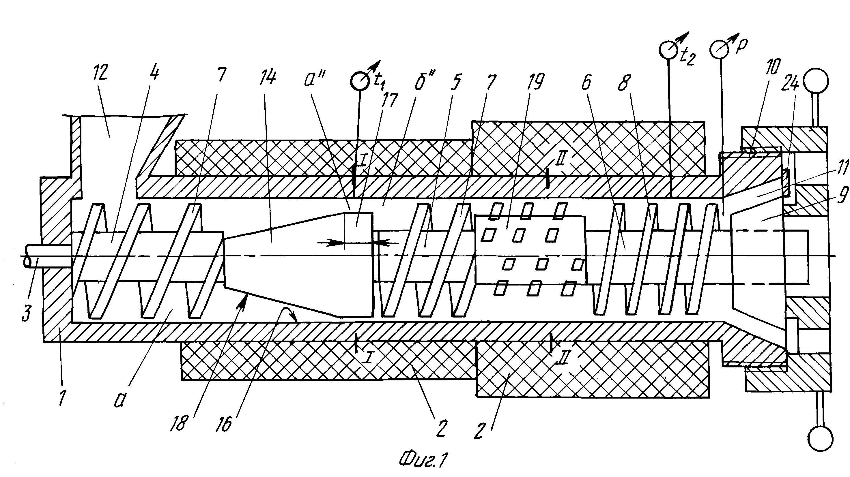
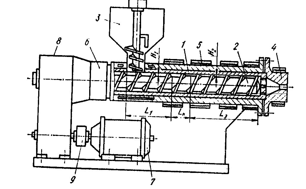
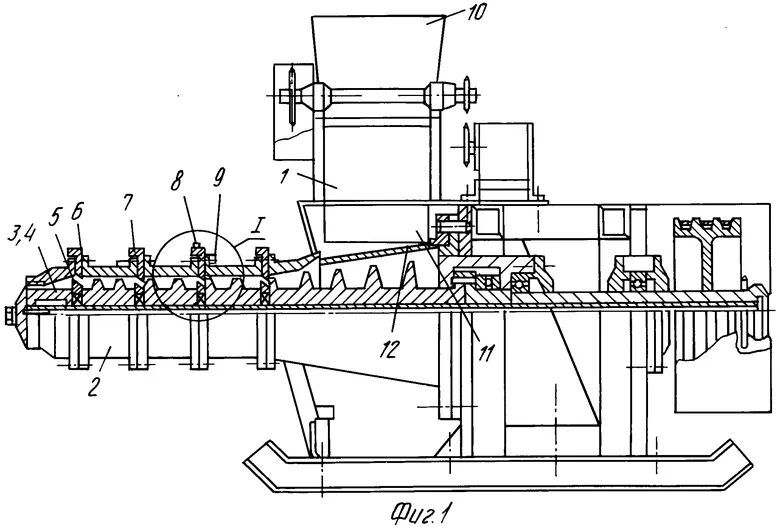
Как сделать экструдер