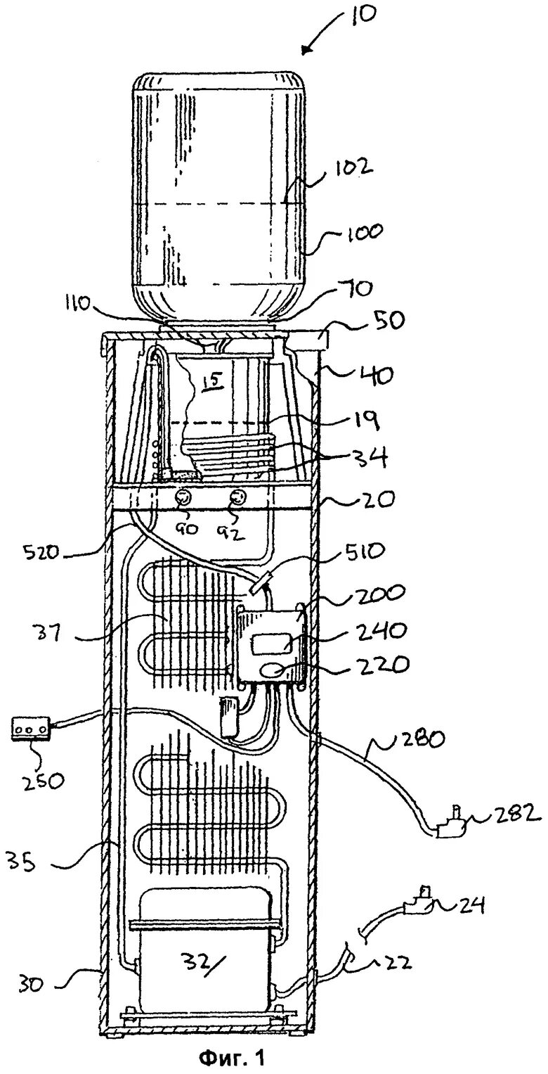
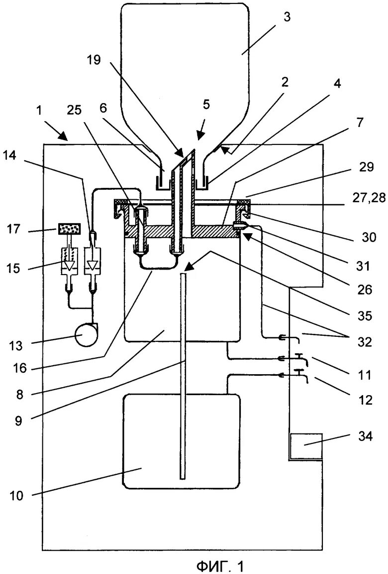
Как устроен кулер