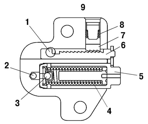
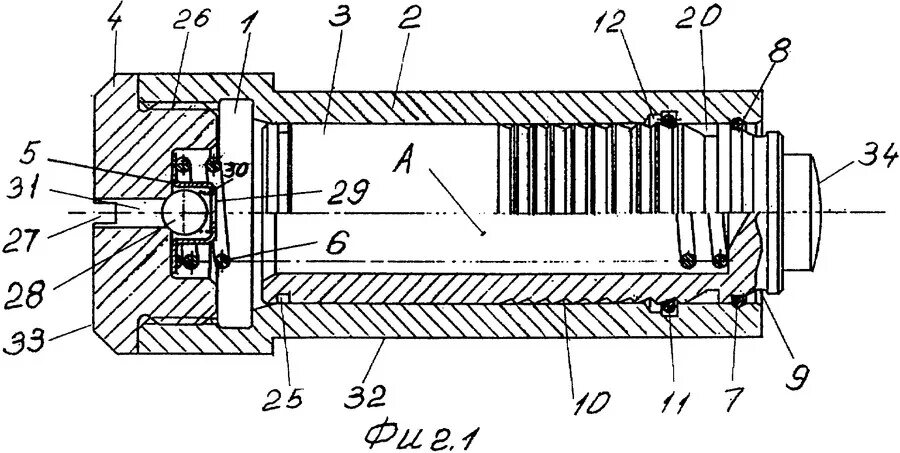
Как устроен натяжитель