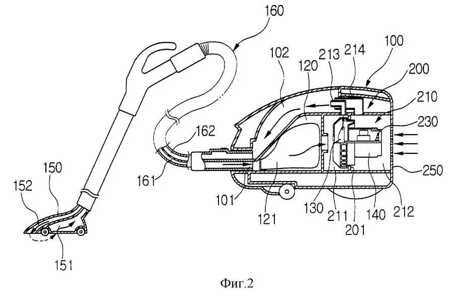
Как устроен пылесос