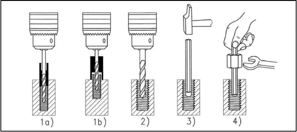
Как вытащить штифт