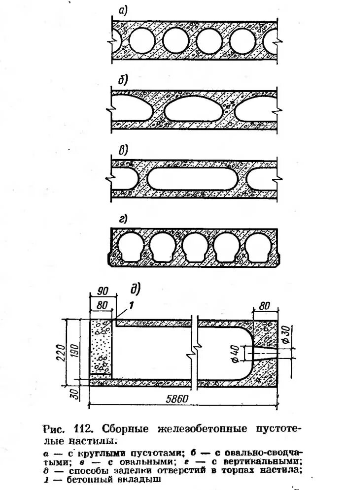
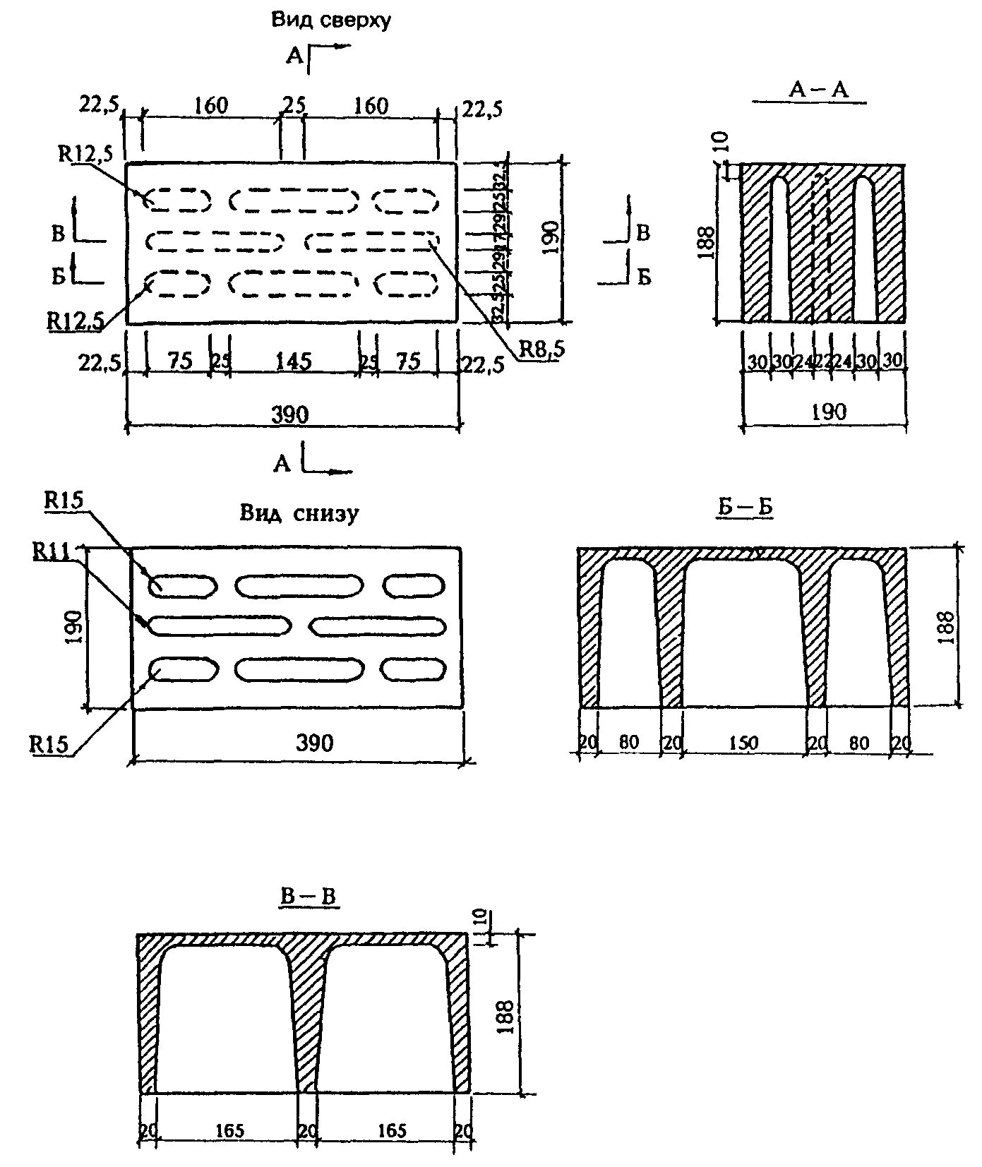
Какие размеры пустот