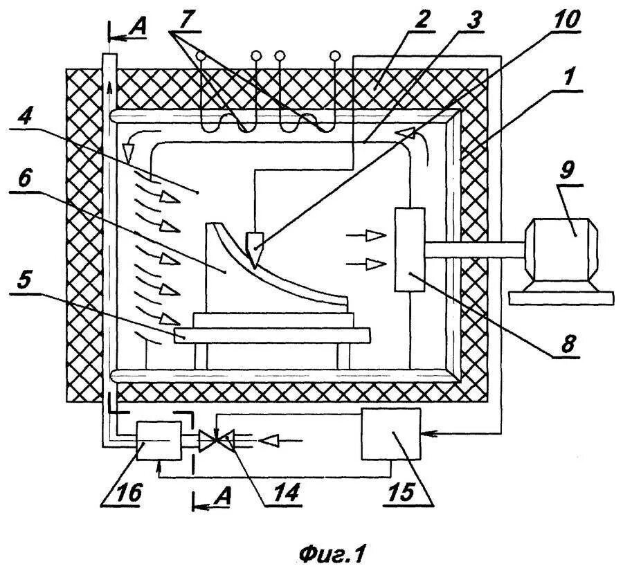
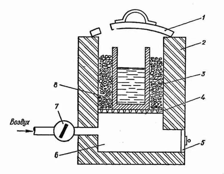
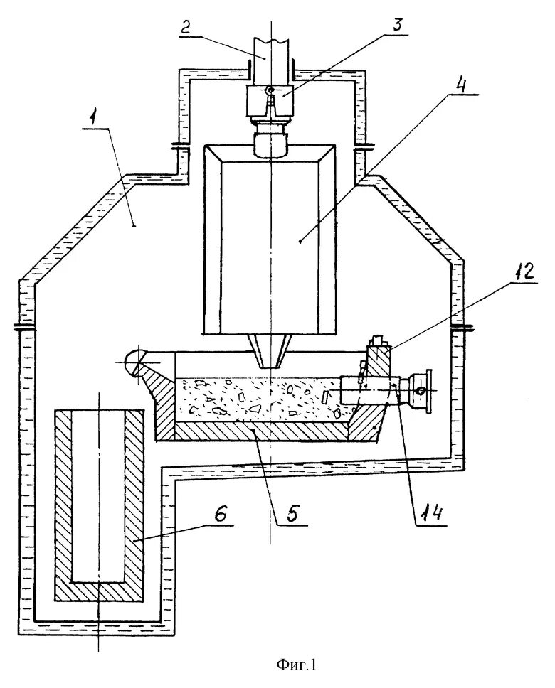
Какие устройства используют для плавки