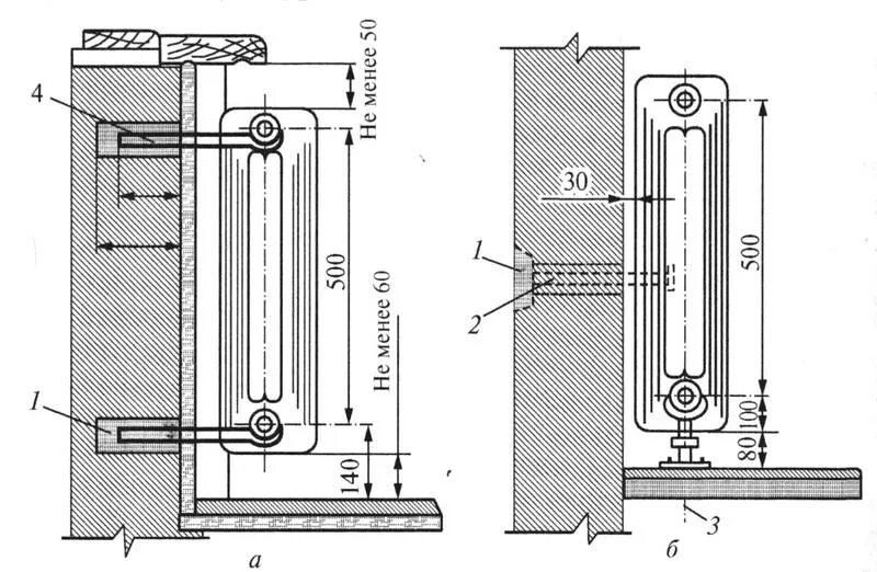
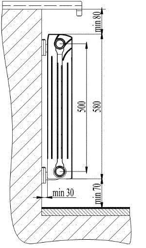
Какое расстояние радиатора от стены