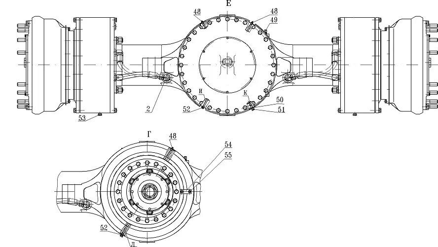
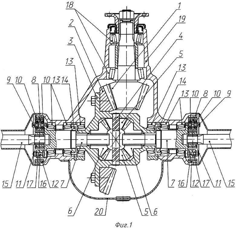
Какой ведущий мост