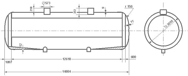
Калибровка жд цистерн