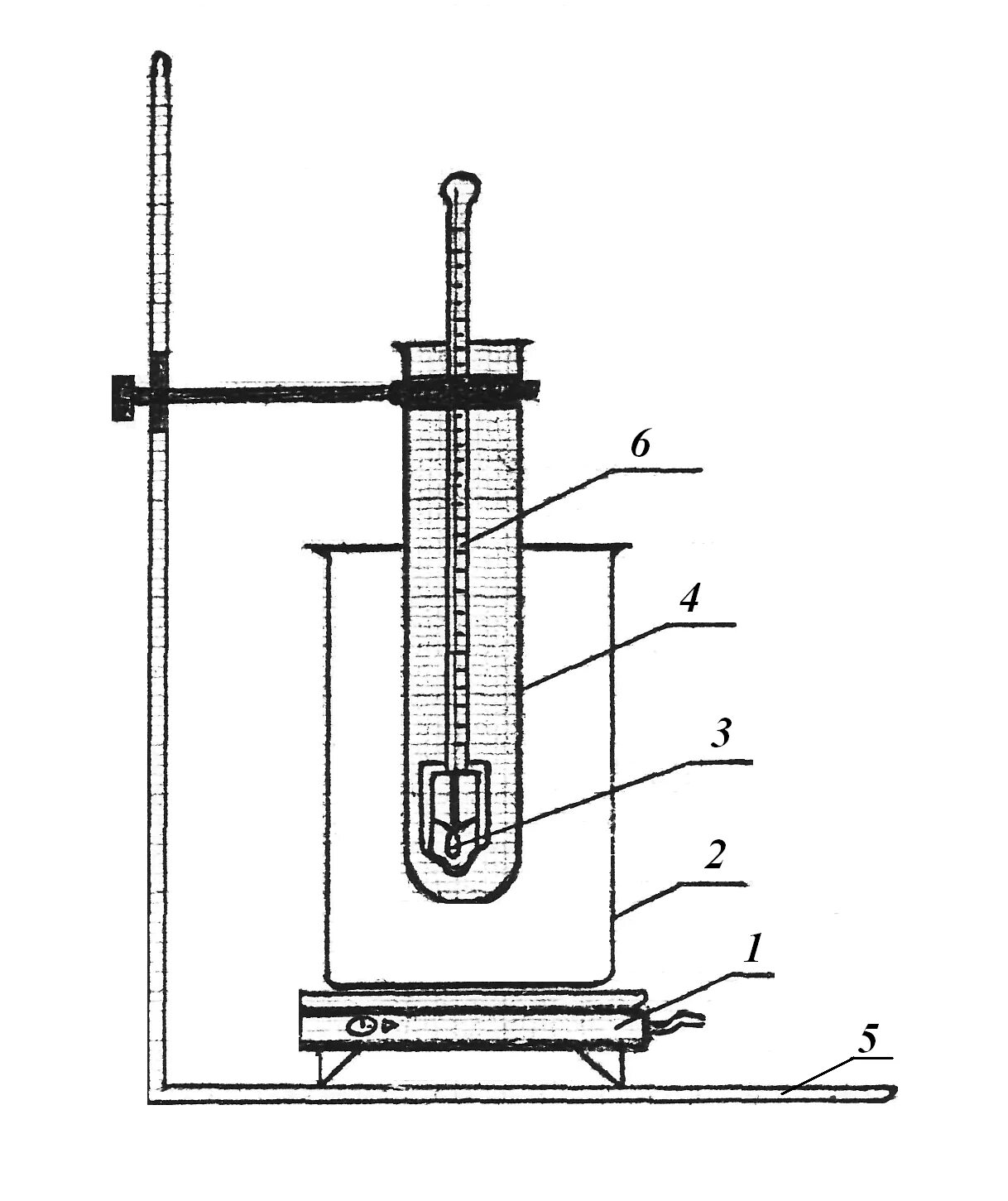
Каплепадение смазки