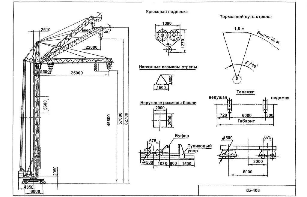
Кб размеры