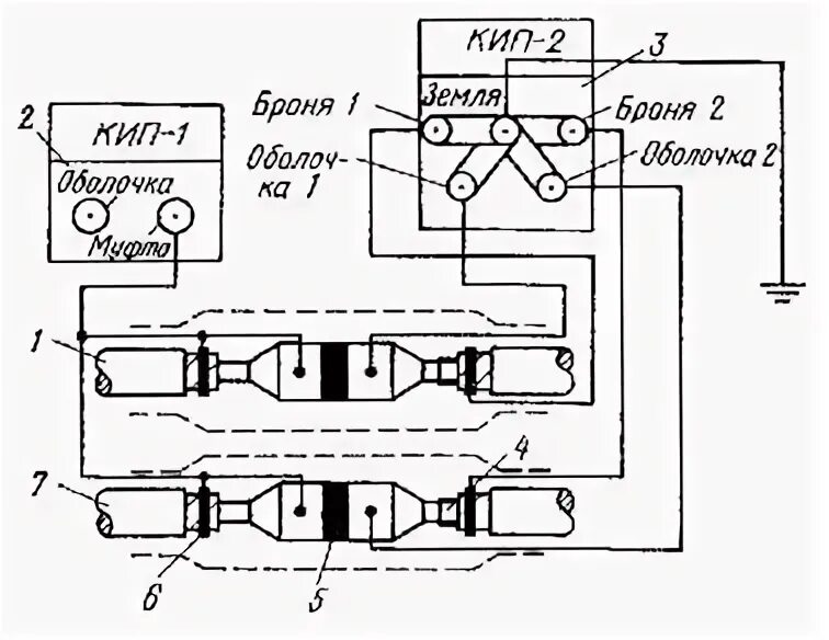
Кип 1 2