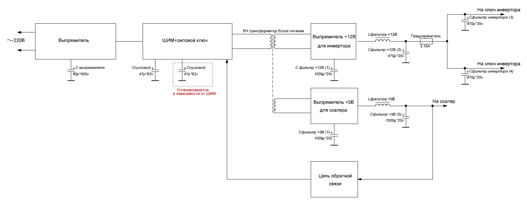
Ключи инвертора