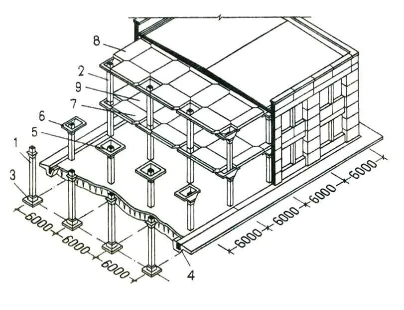
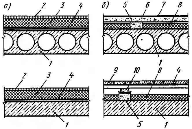
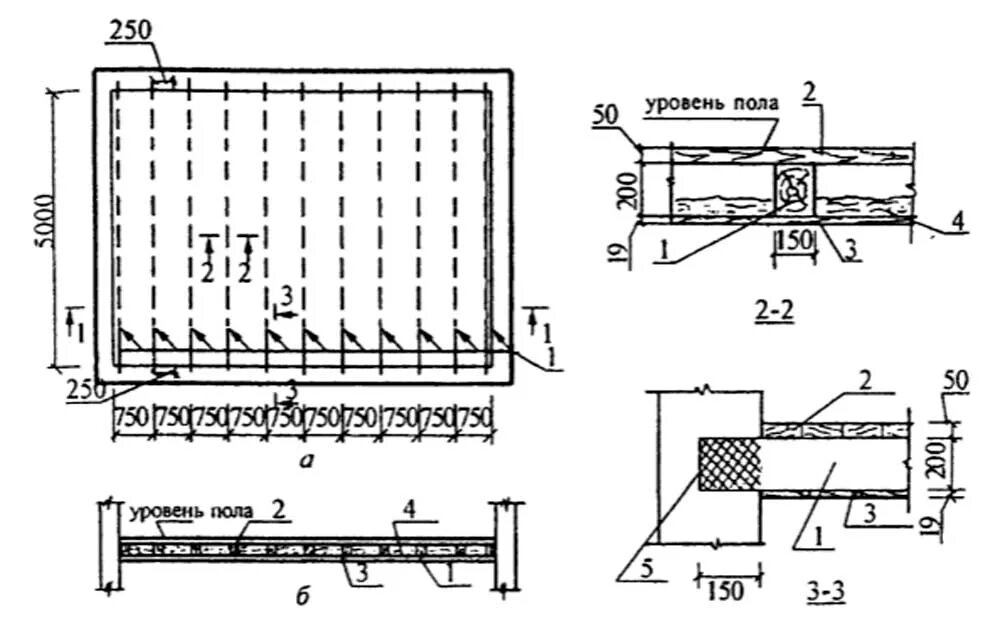
Конструктивное решение перекрытий