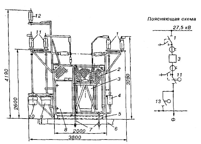
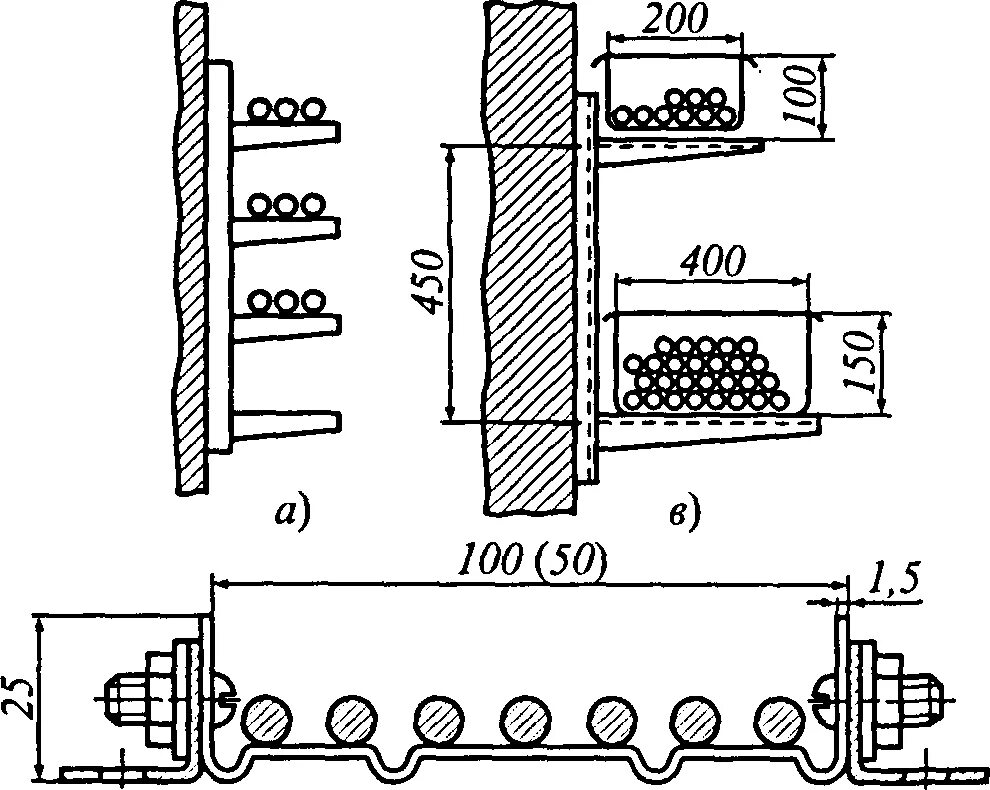
Конструктивное выполнение сетей