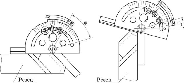
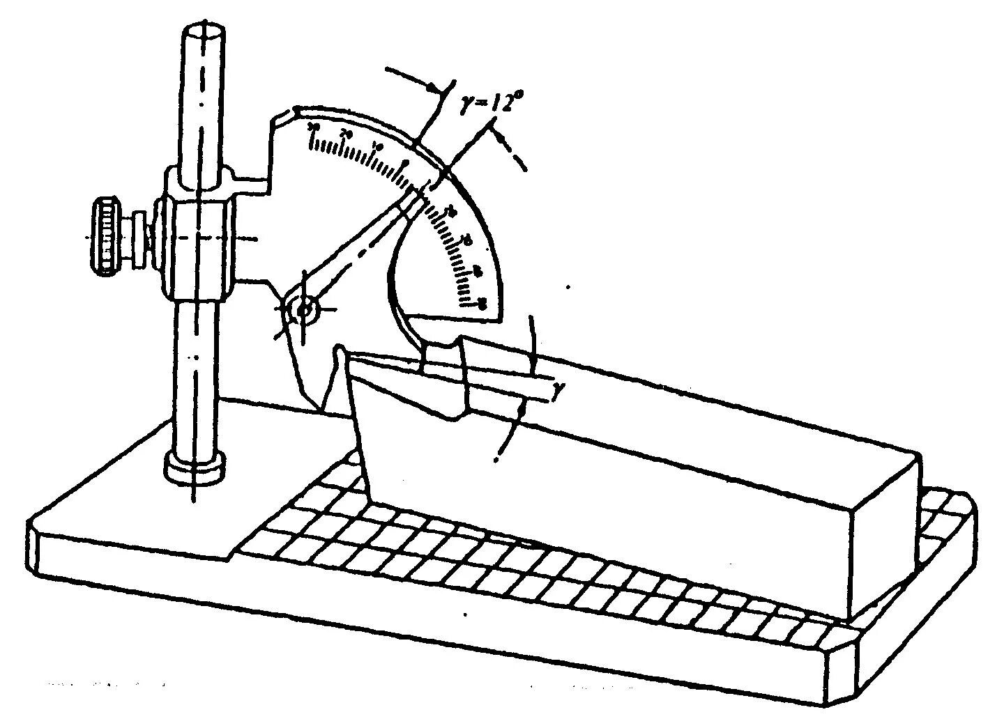
Контроль резцов