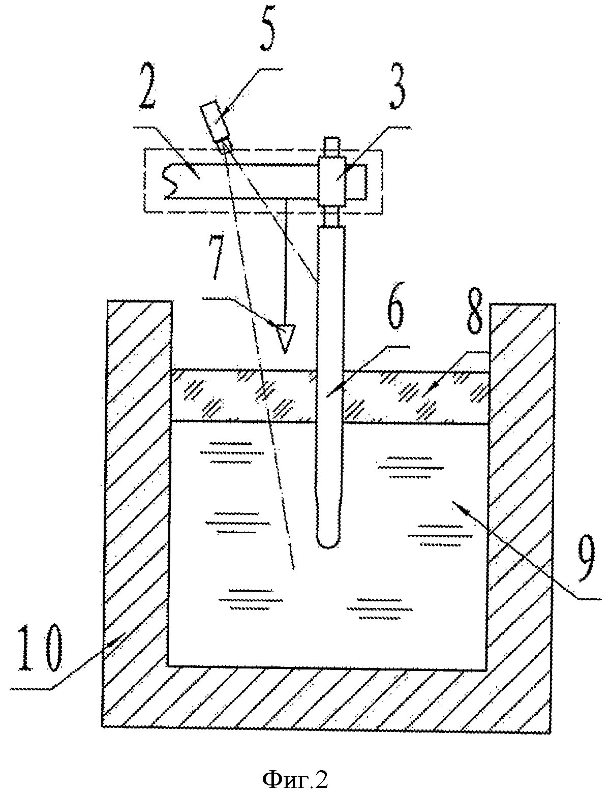
Контроль уровня металла