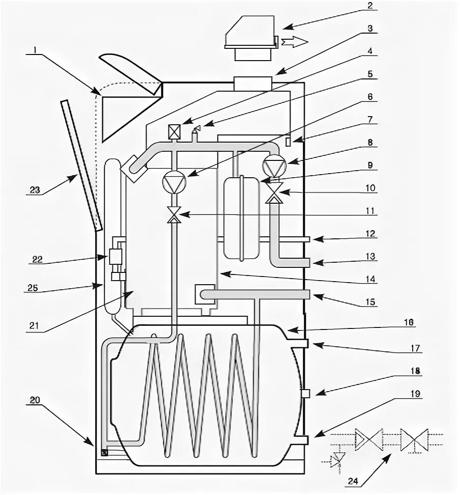
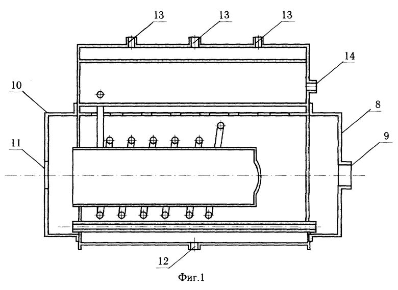
Контур нагрева