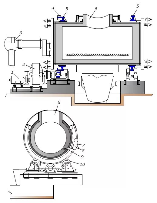
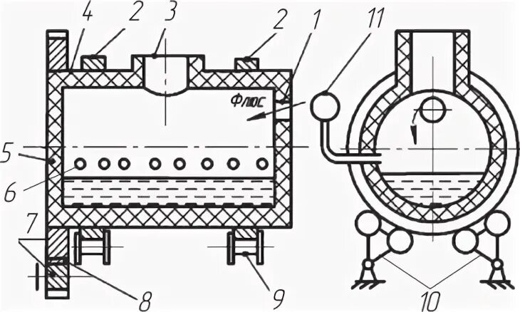
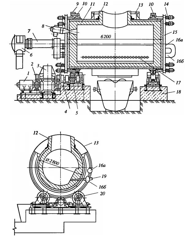
Конвертирование штейнов