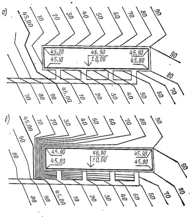
Красные отметки это