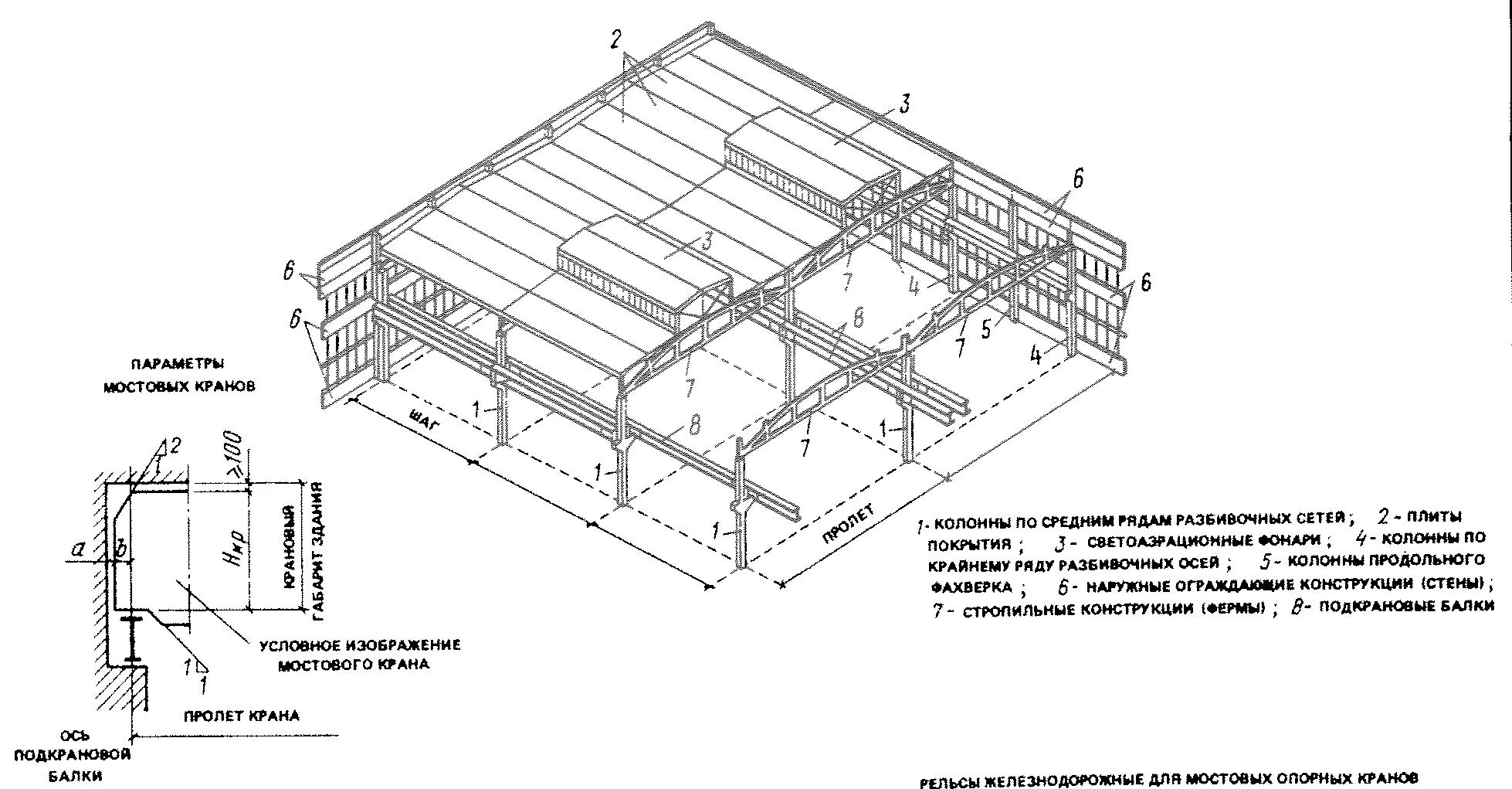
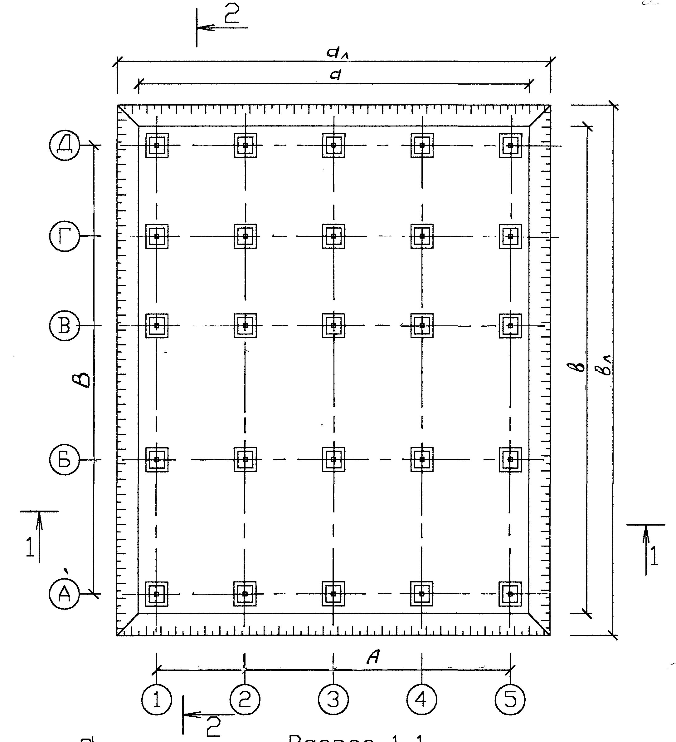
Крайние оси здания