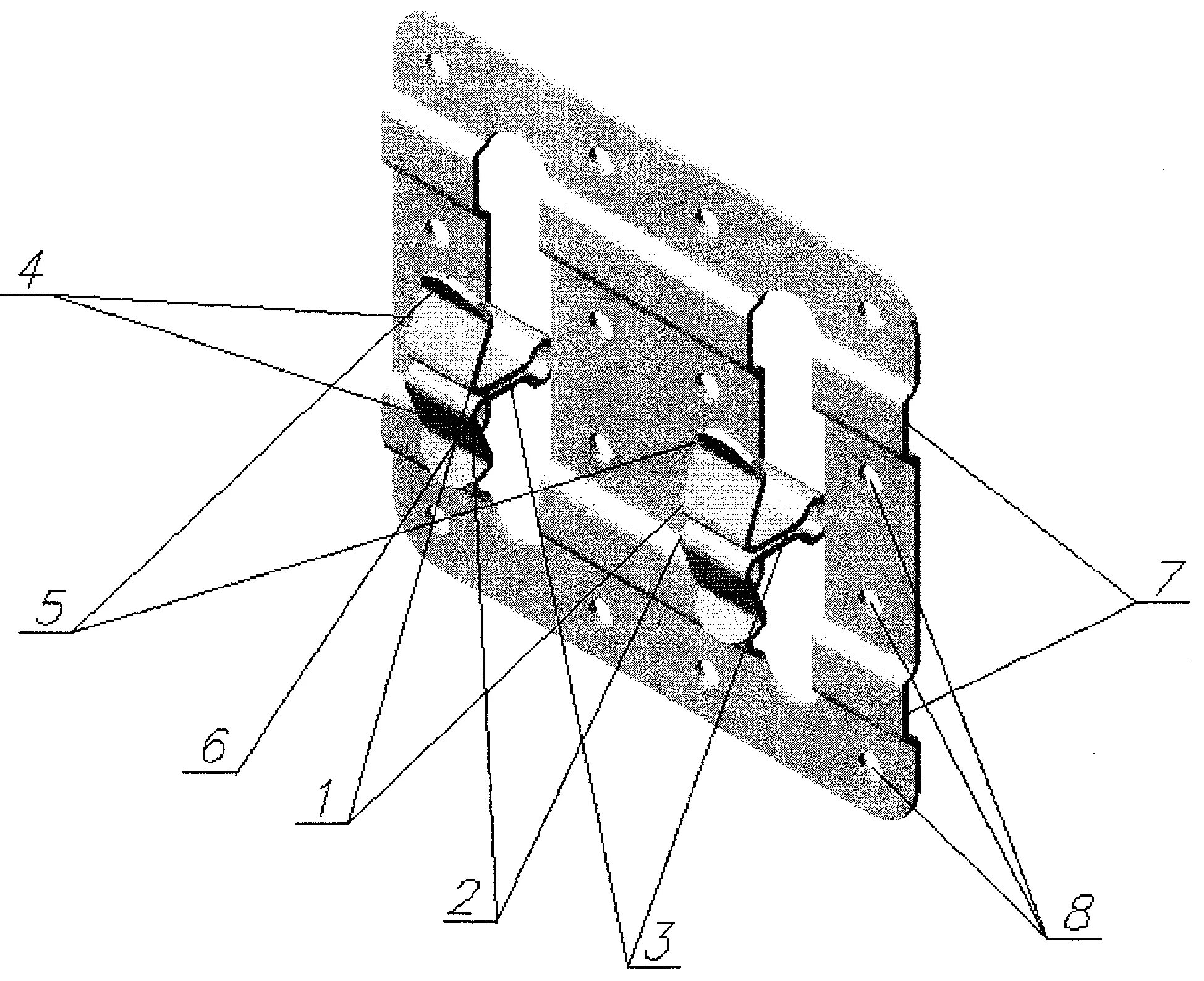
Крепление навесного фасада