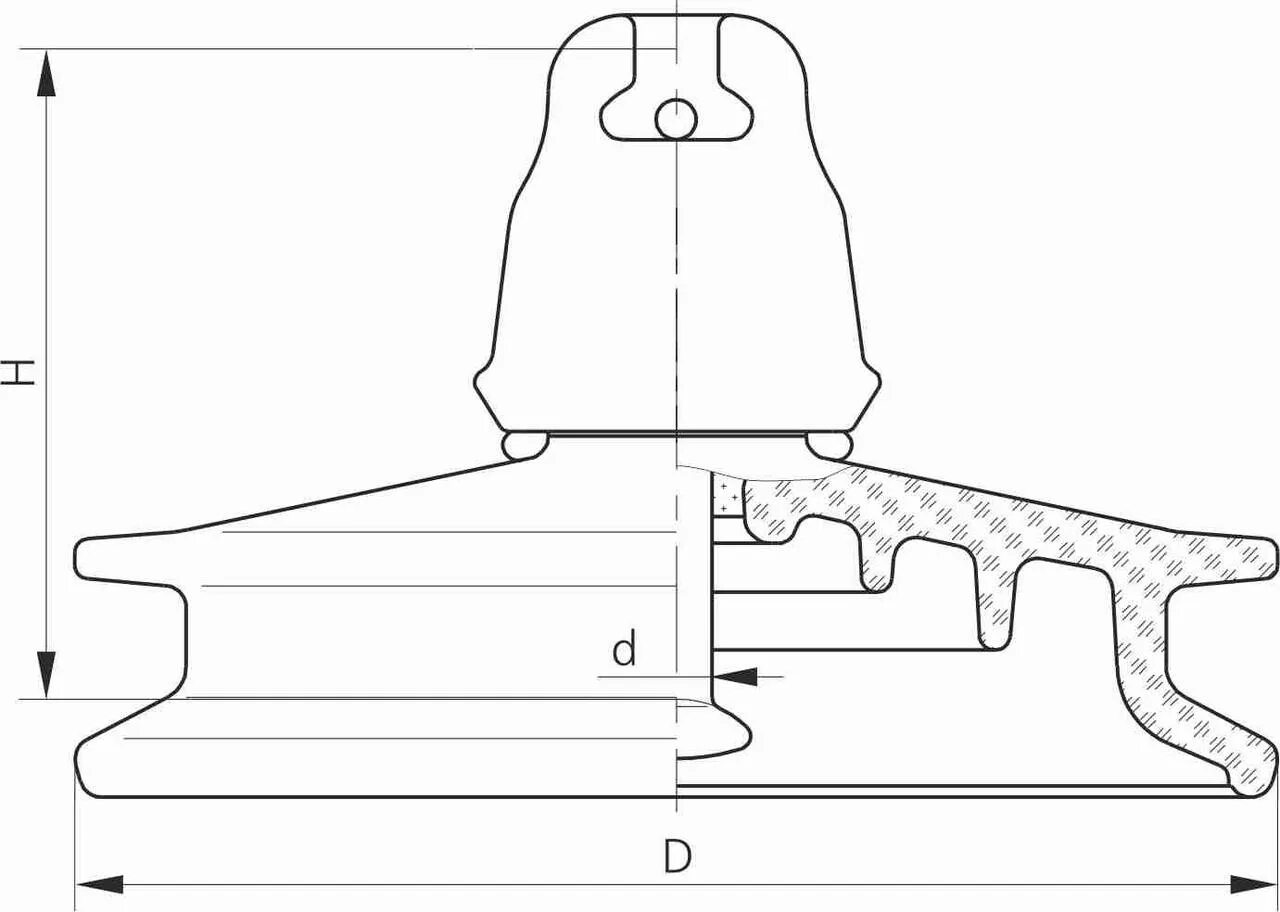
Крепления подвесных изоляторов