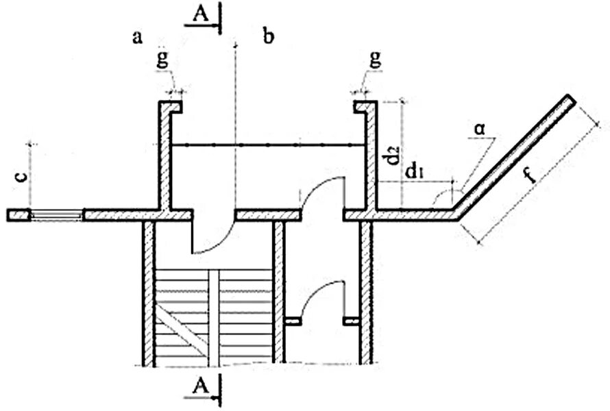
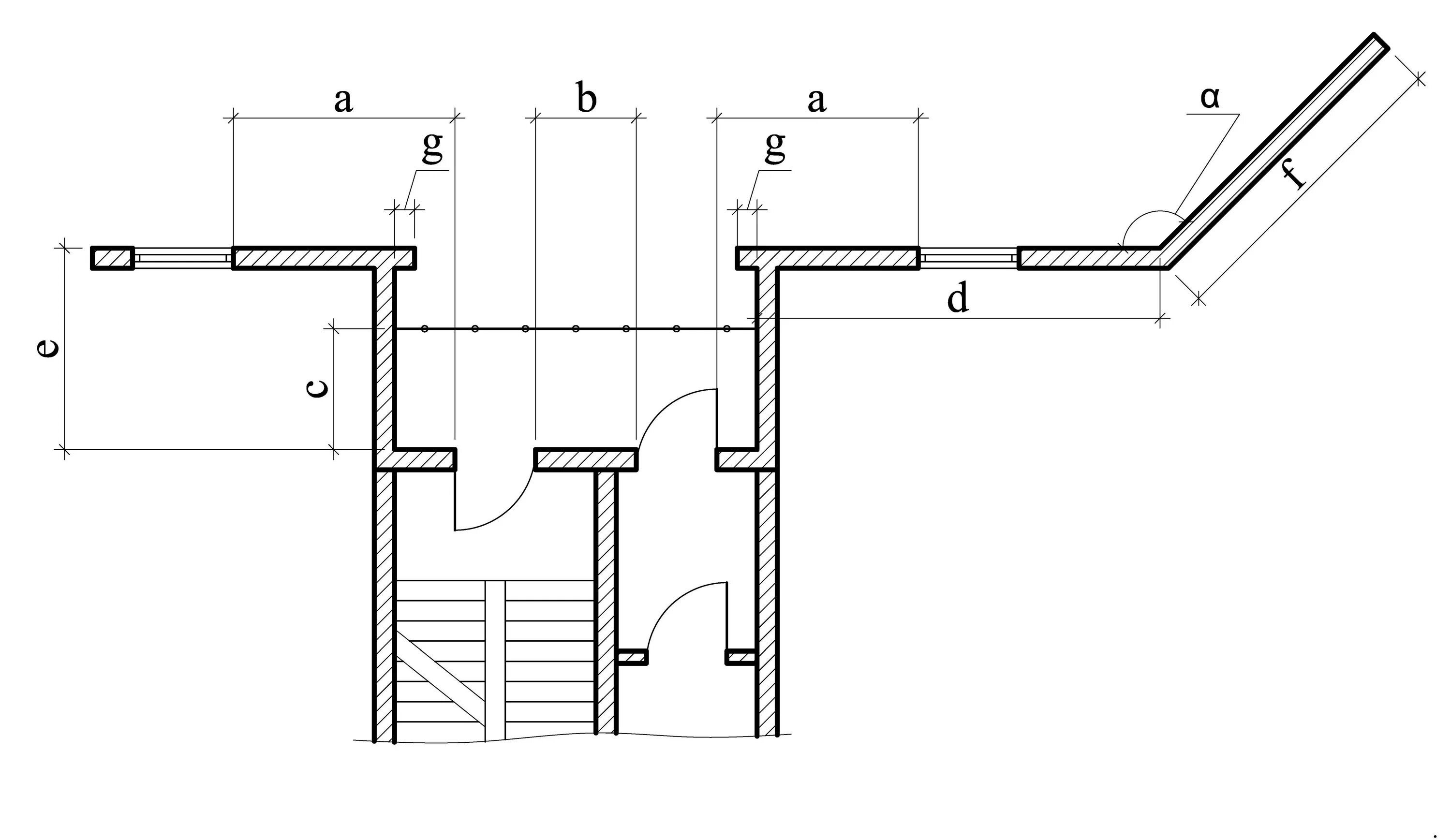
Лестницы 1 го типа