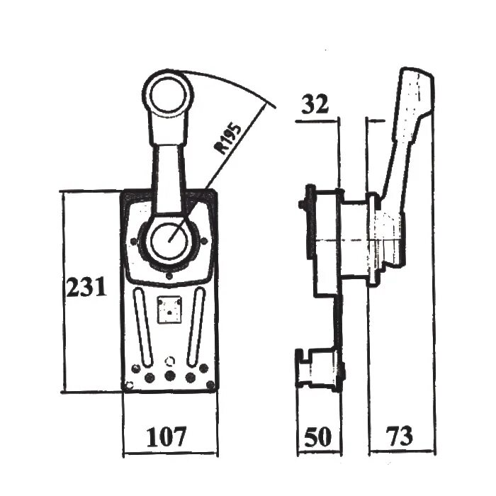
Lever control