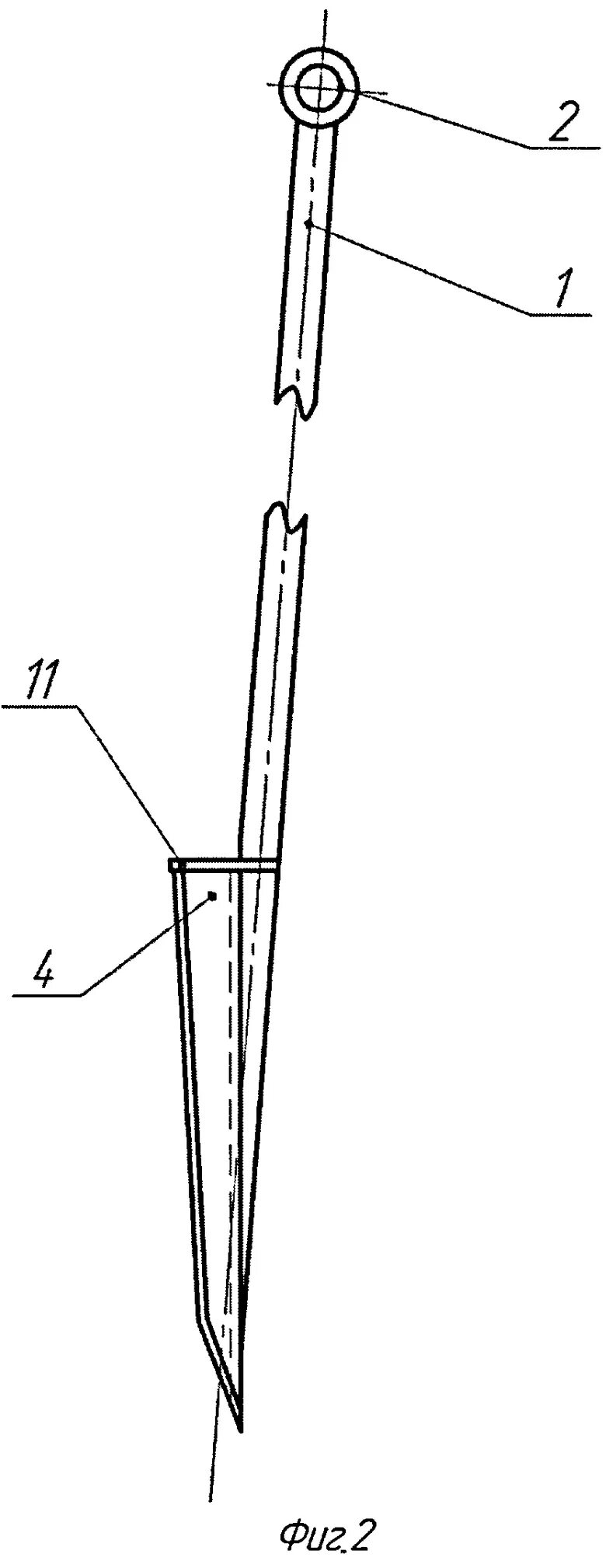
Меч для посадки деревьев