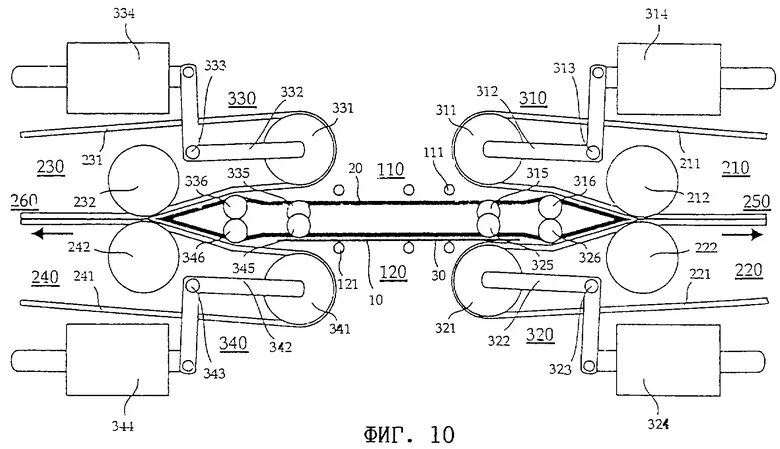
Механизмы изменения направления