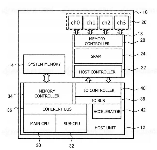
Memory controller