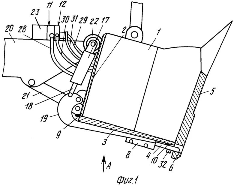
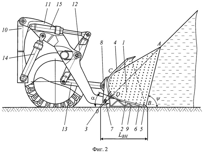
Метод ковша