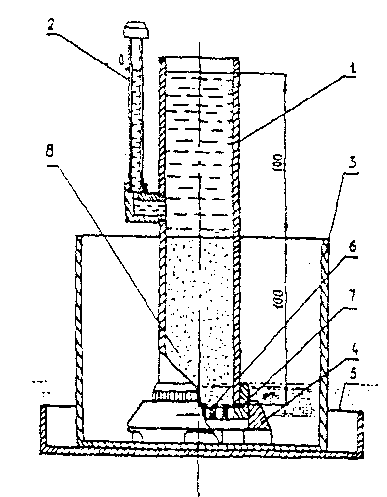
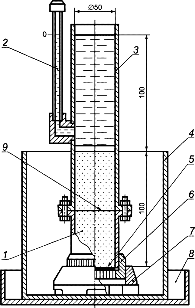
Метод лабораторного определения коэффициента фильтрации