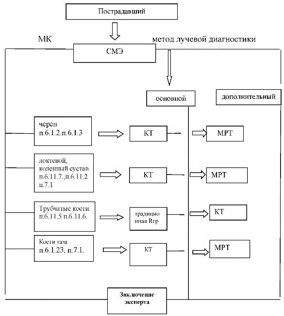
Метод радиальных