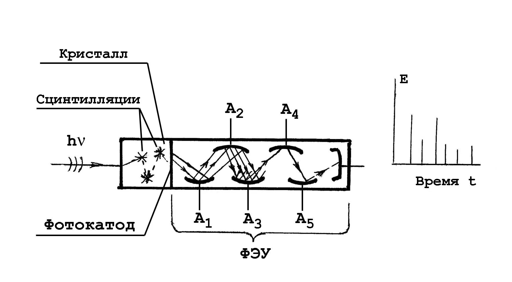
Метод сцинтилляции устройство установки