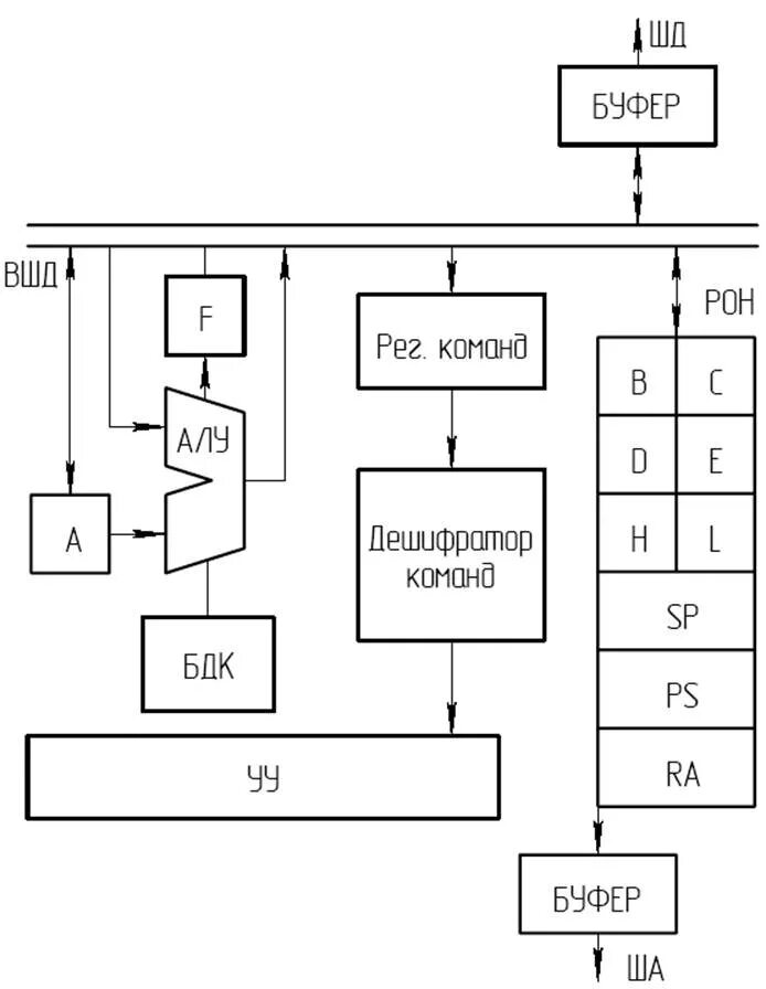
Микропроцессор управления