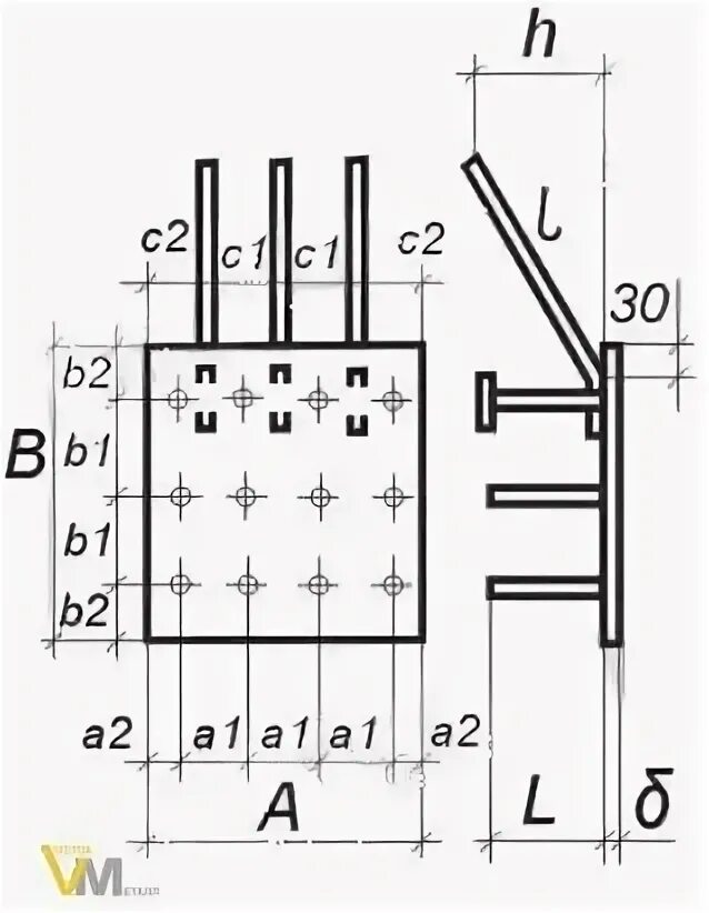
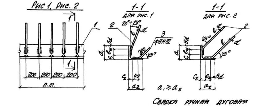
Мн 555