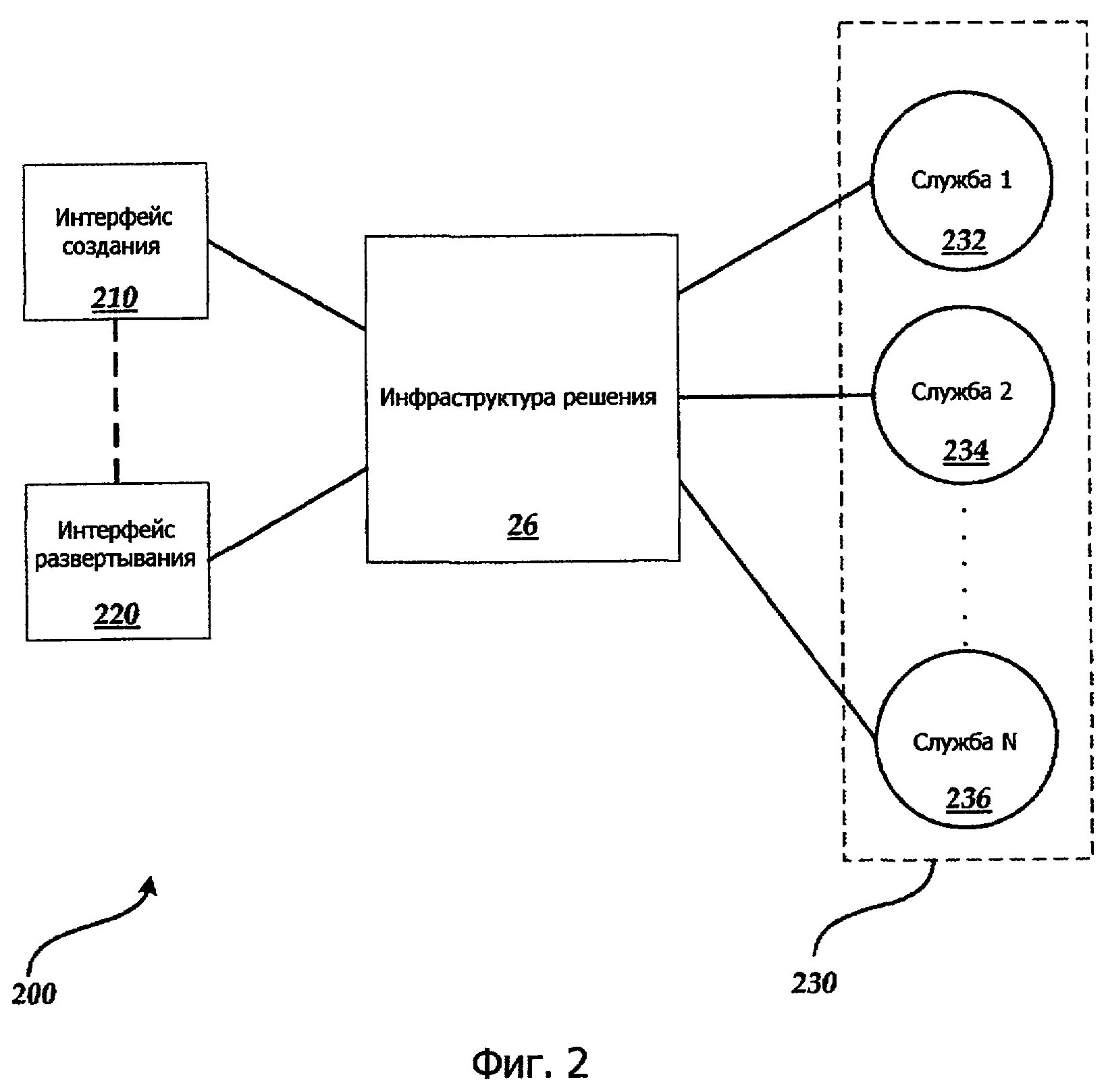
Модель развертывания систем