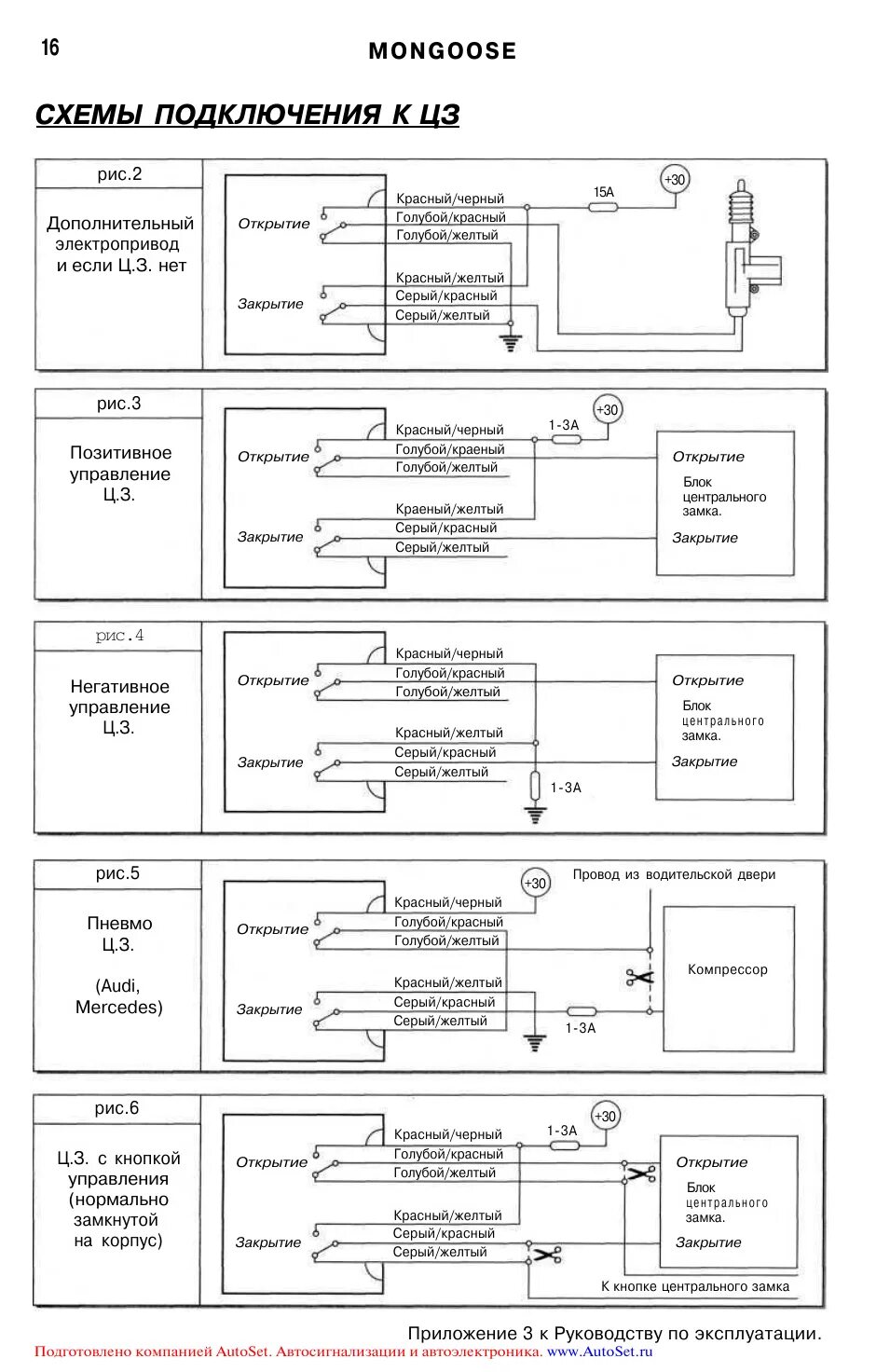
Mongoose schema