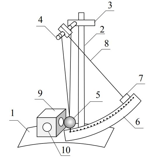
На рисунке изображена установка для изучения