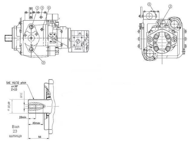
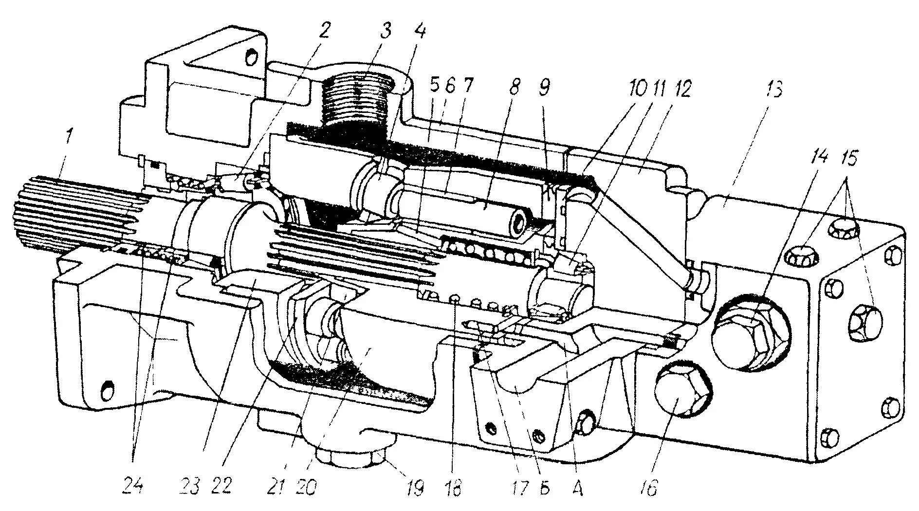
Насос нп 90