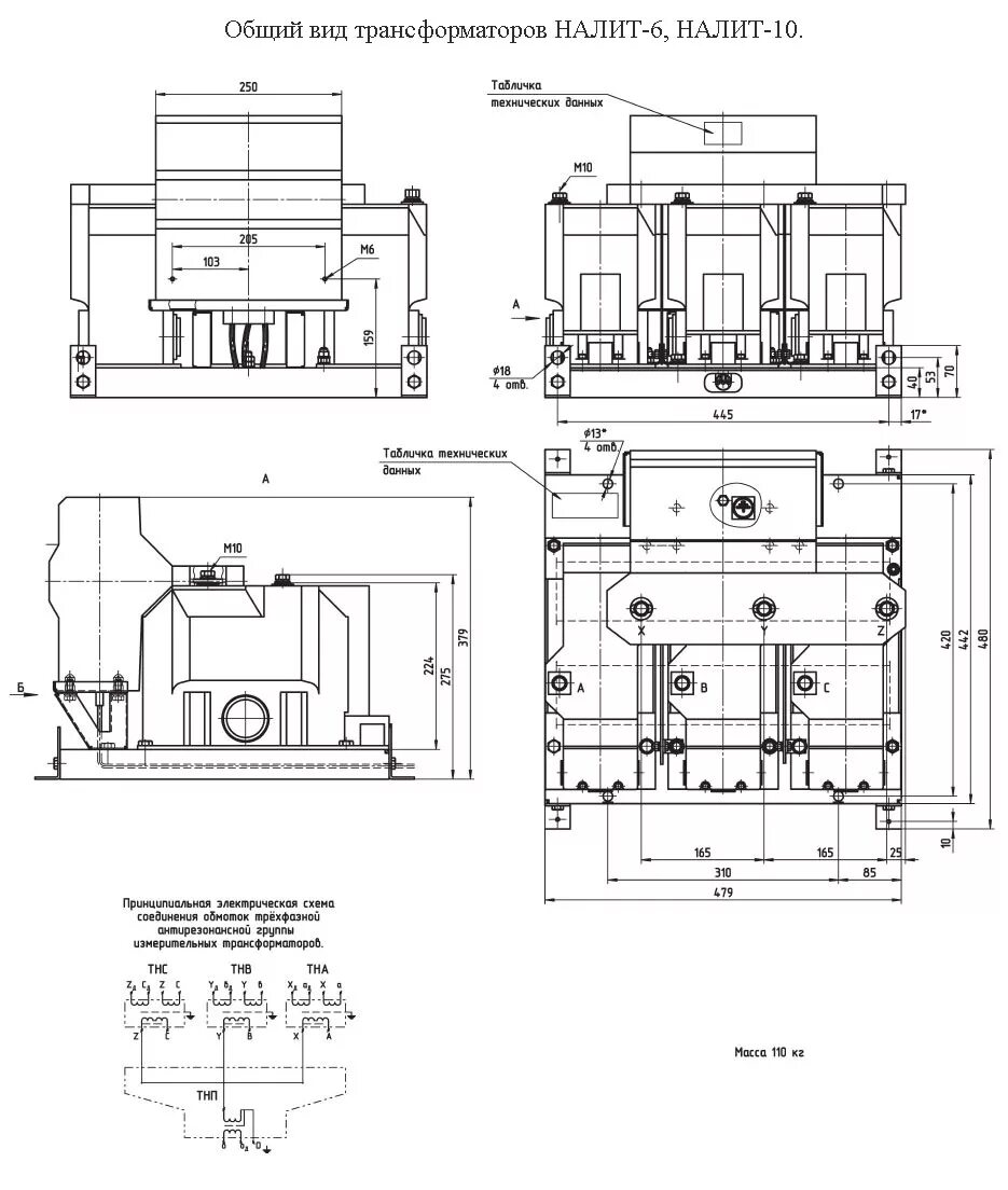
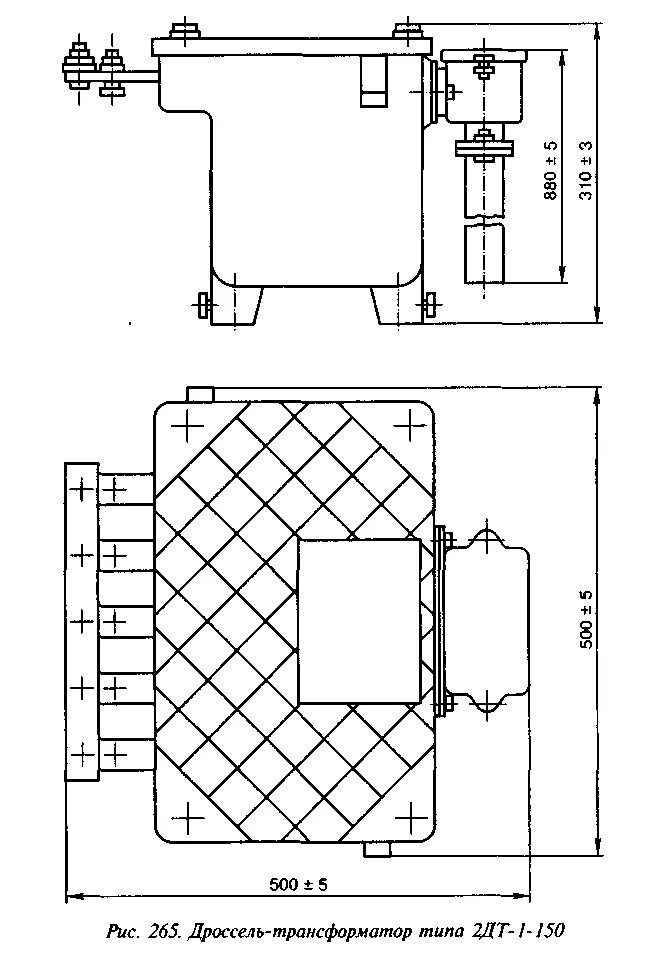
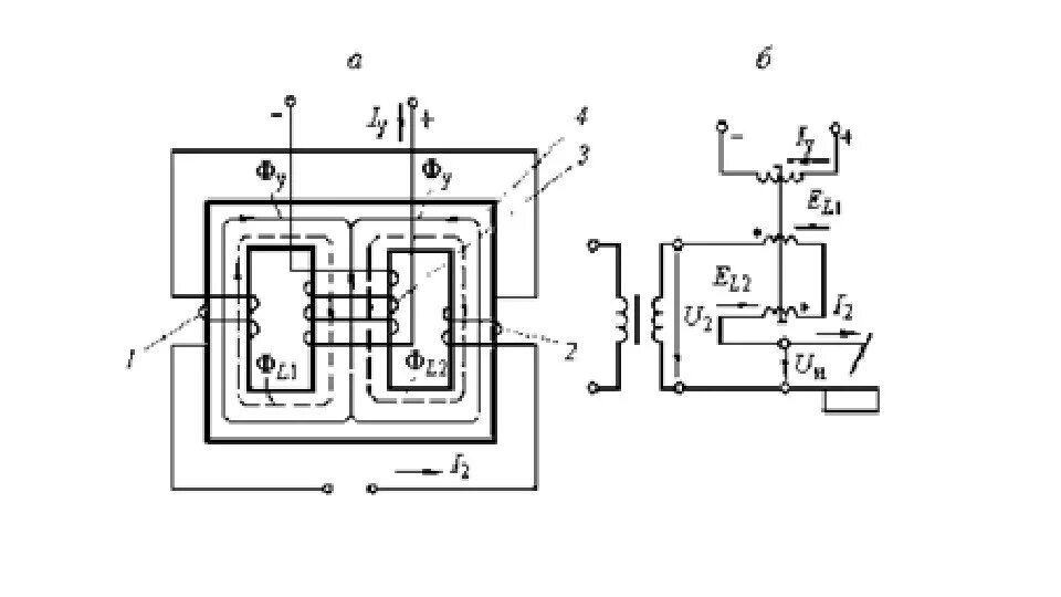
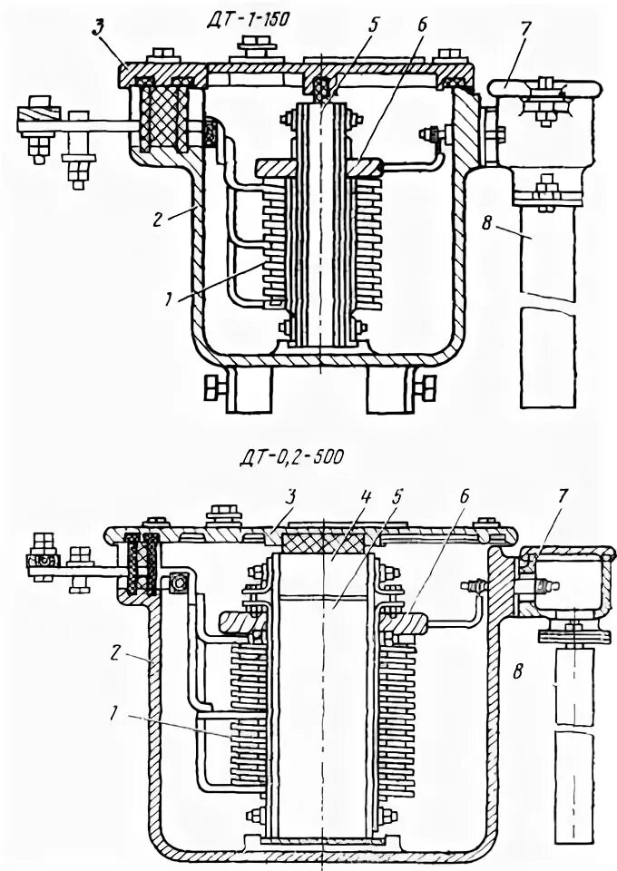
Назначение дроссель трансформатора