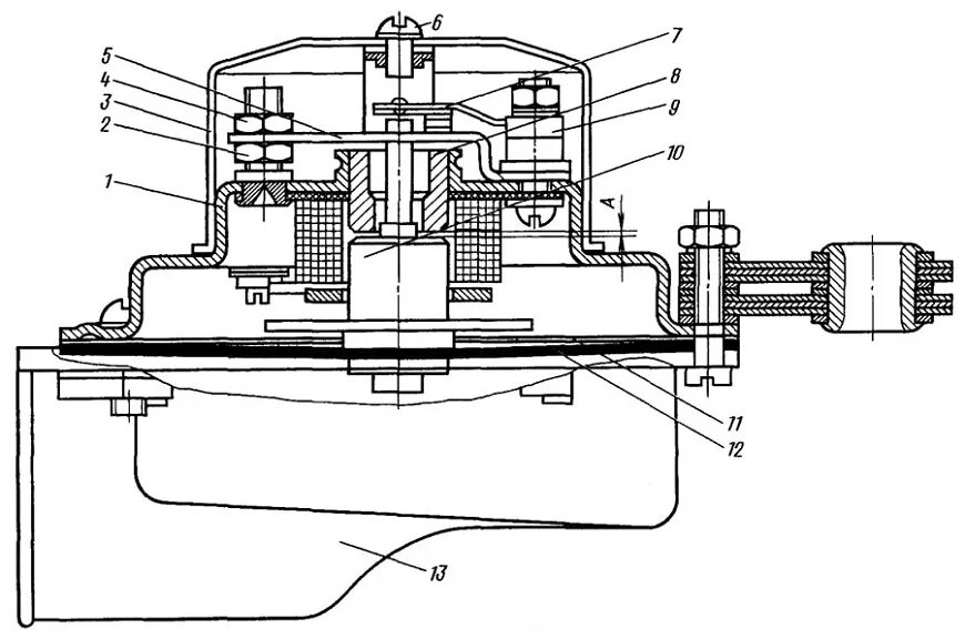
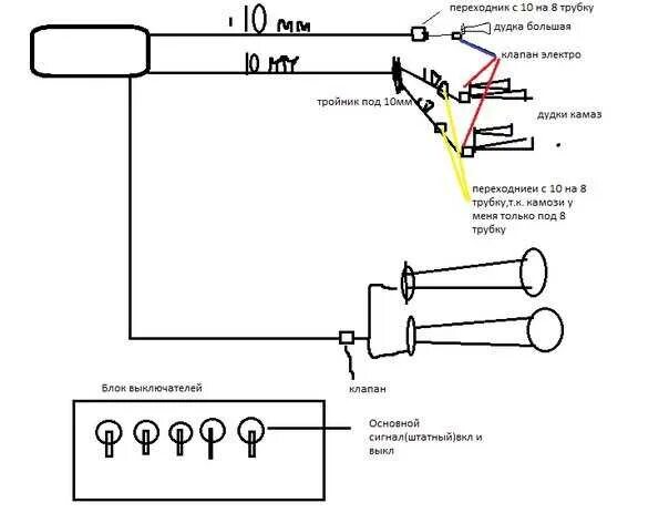
Не работает сигнал камаз