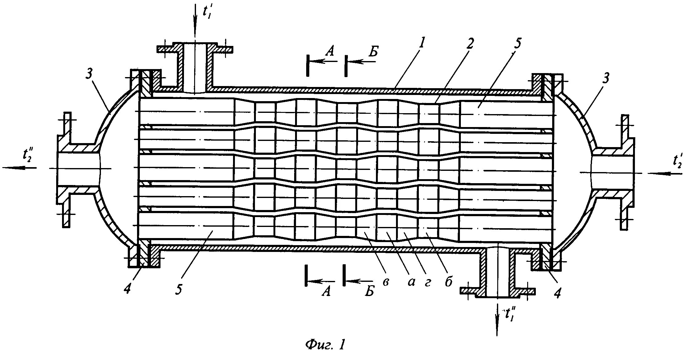
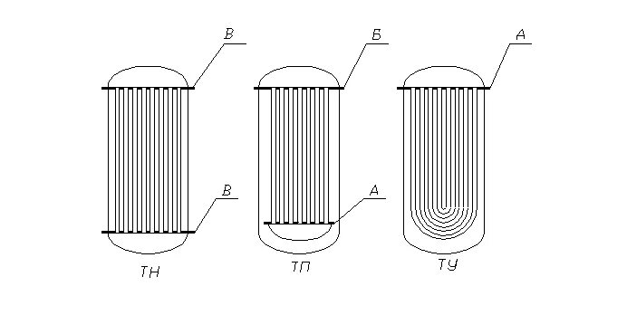
Неподвижная трубная решетка