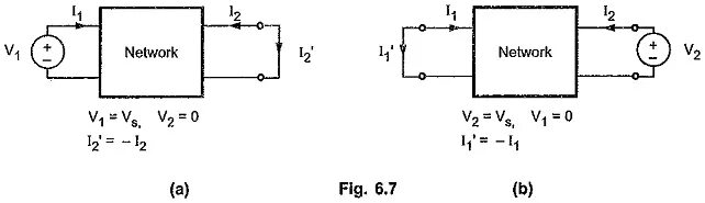
Network parameters