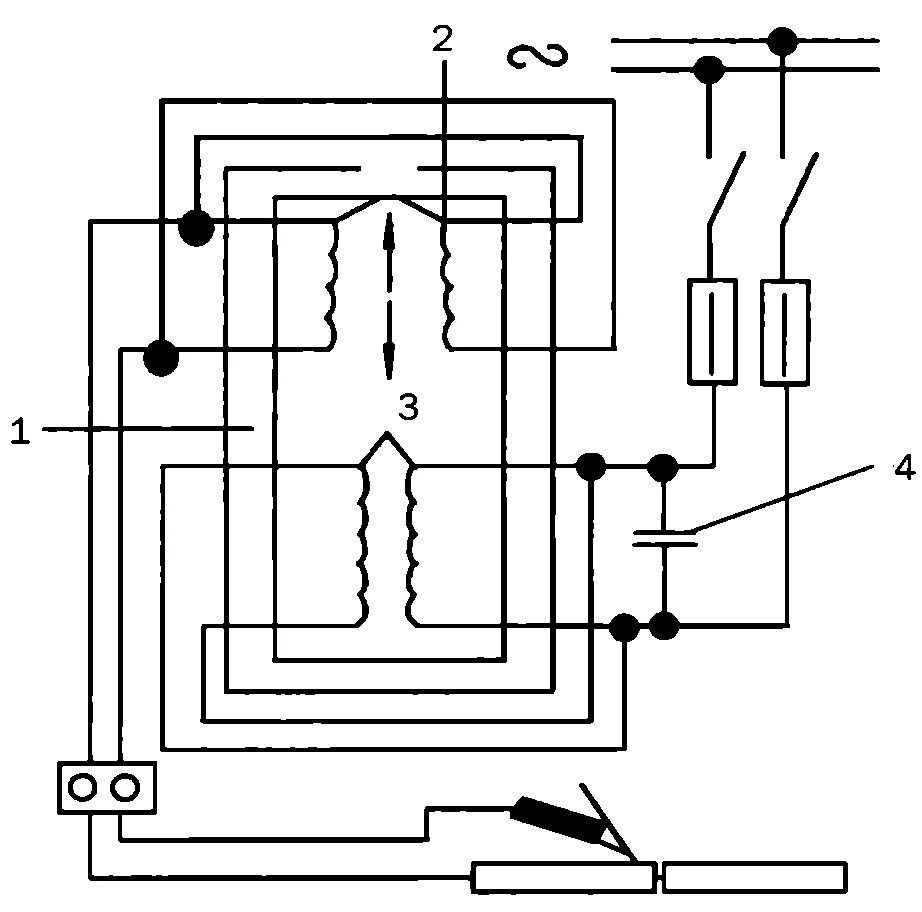
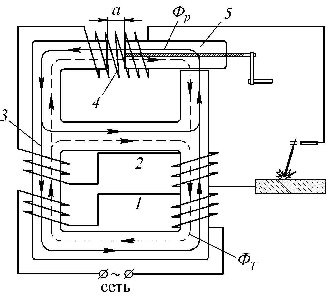
Обмотки сварочного трансформатора