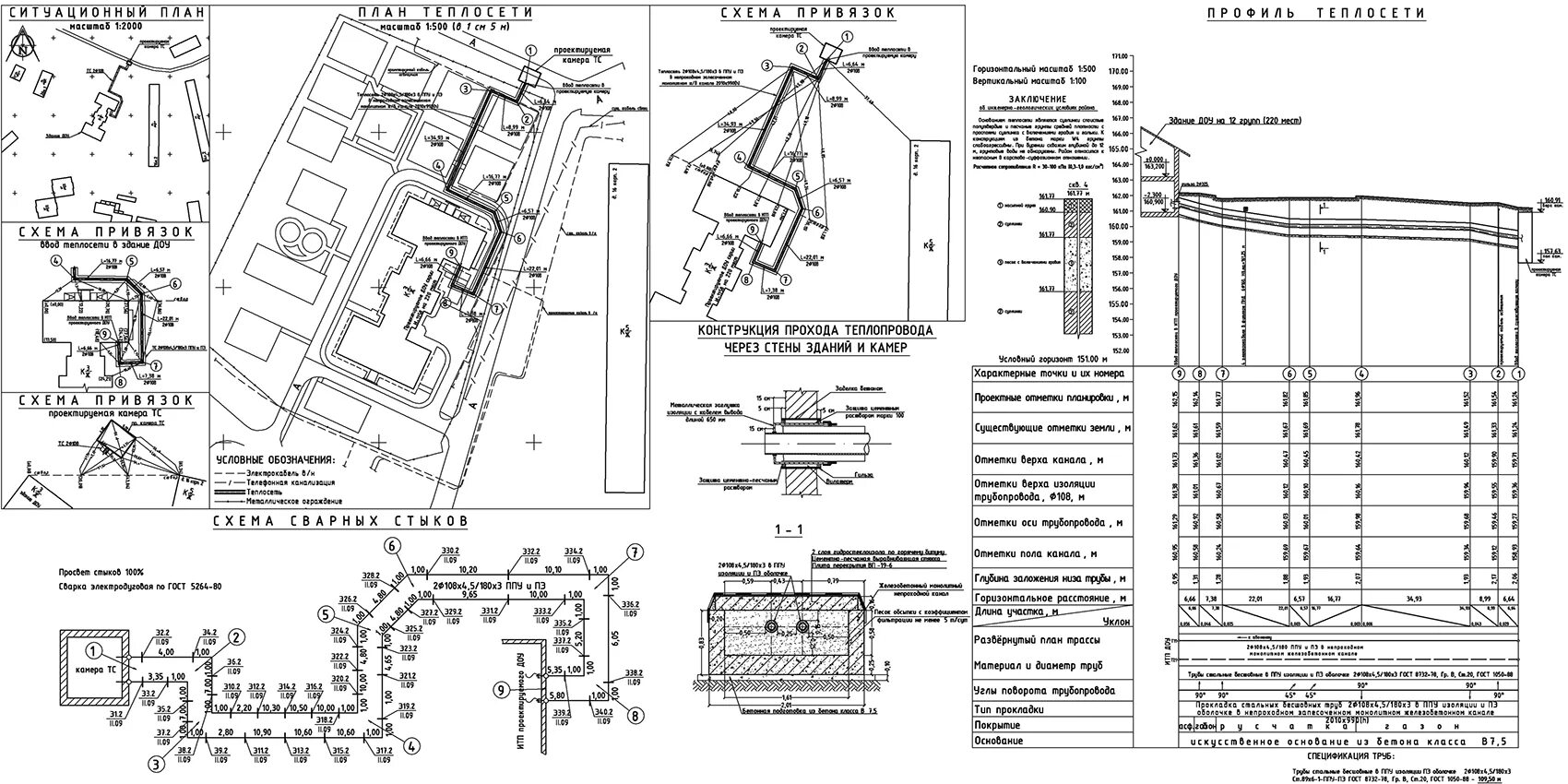
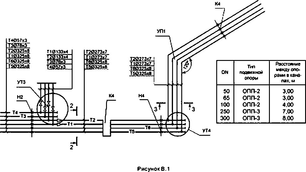
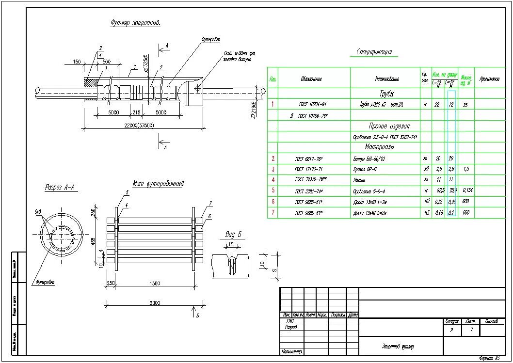
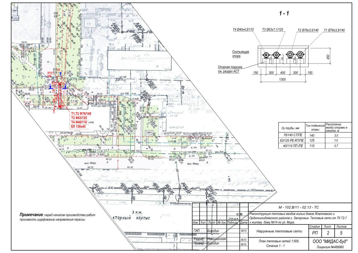
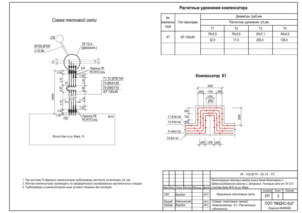
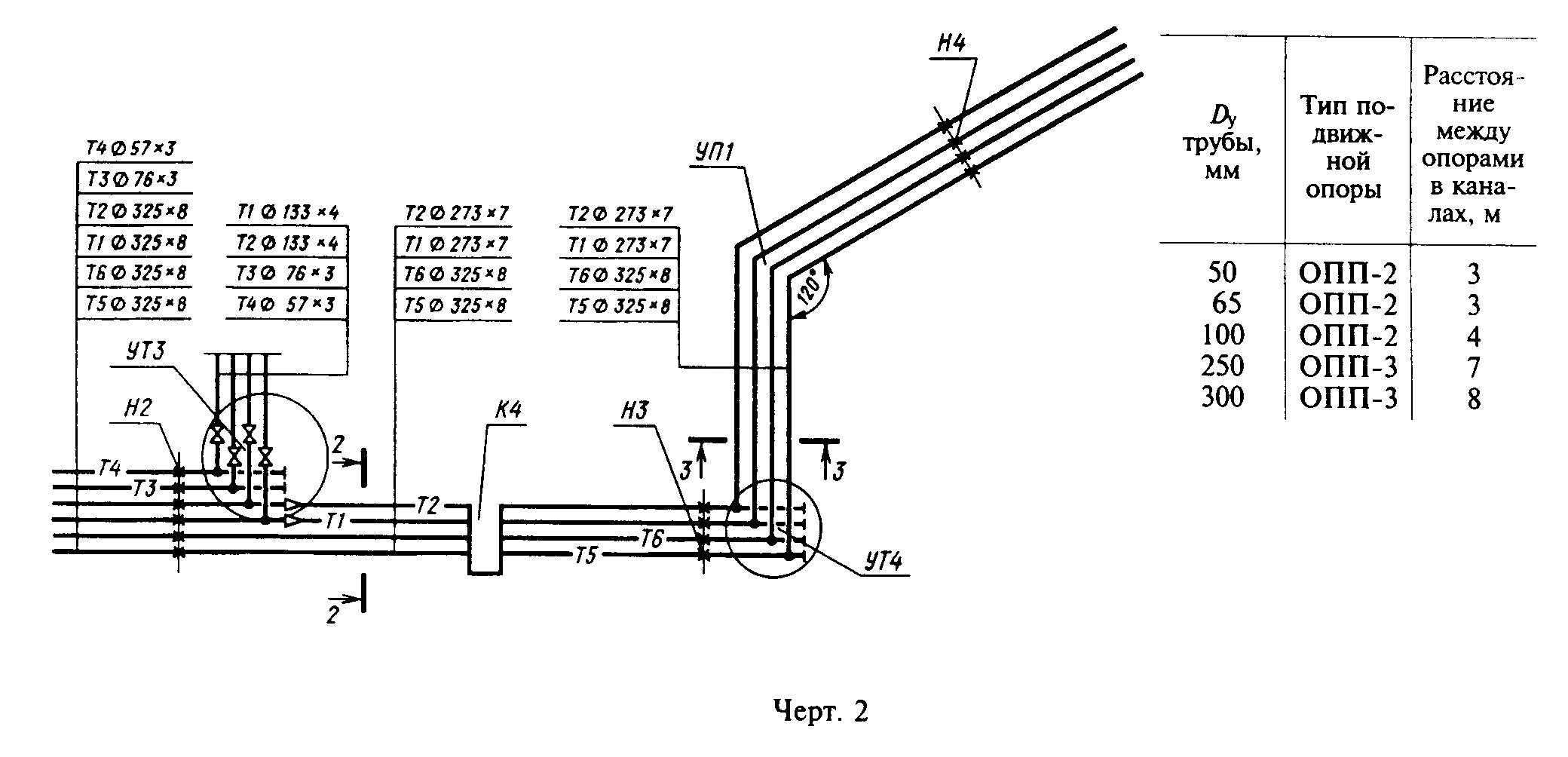
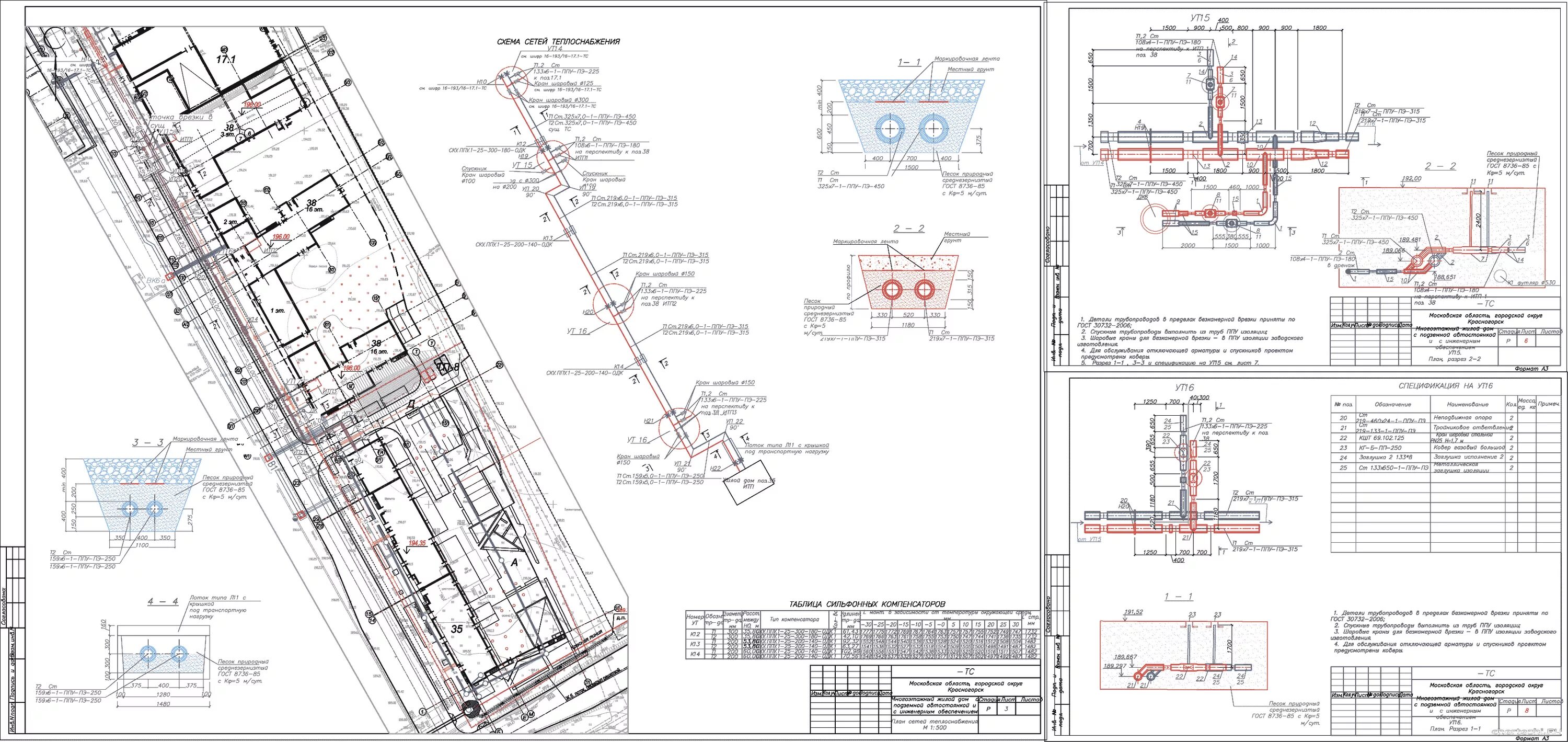
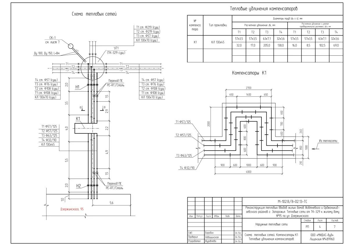
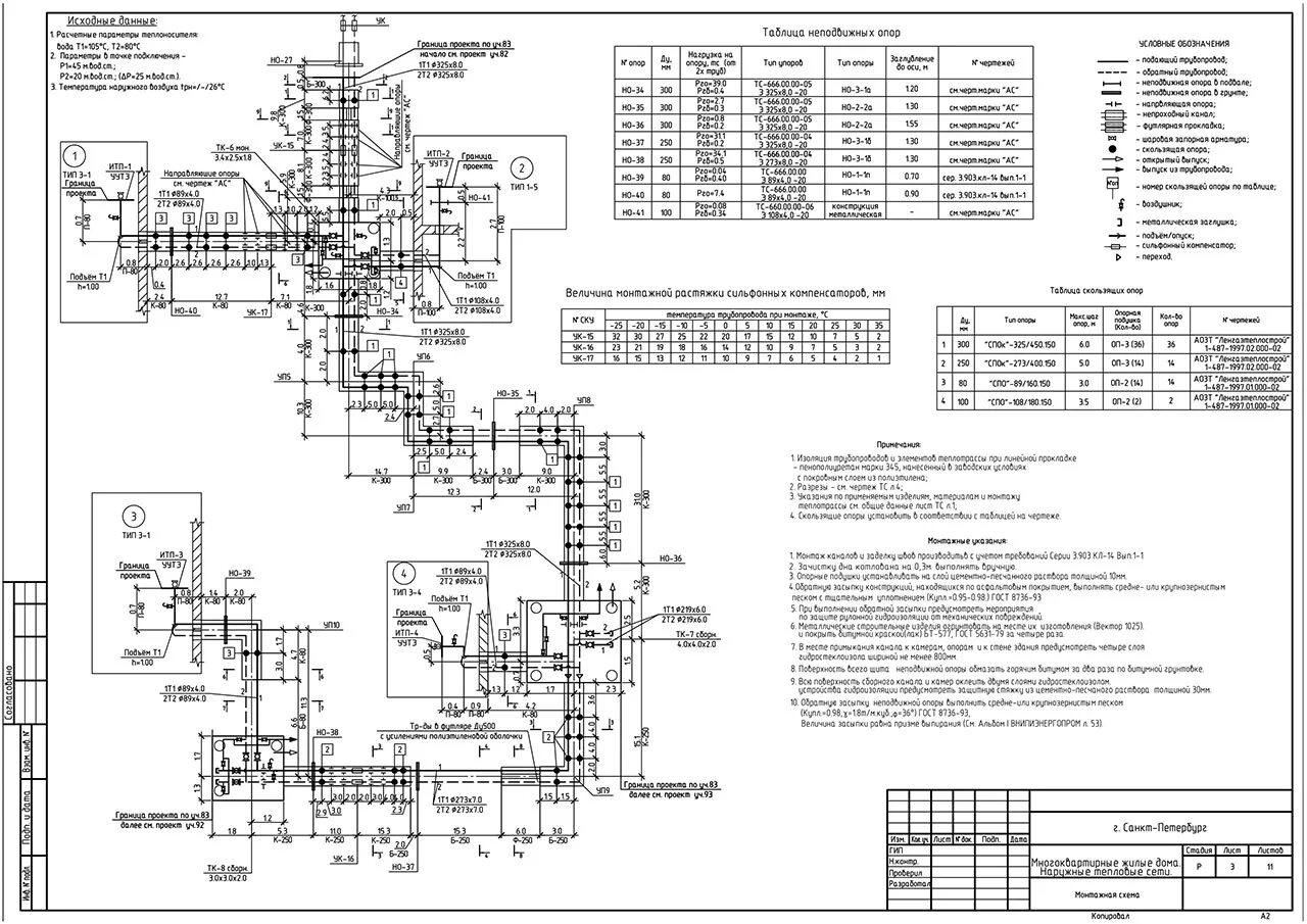
Обозначение теплотрассы